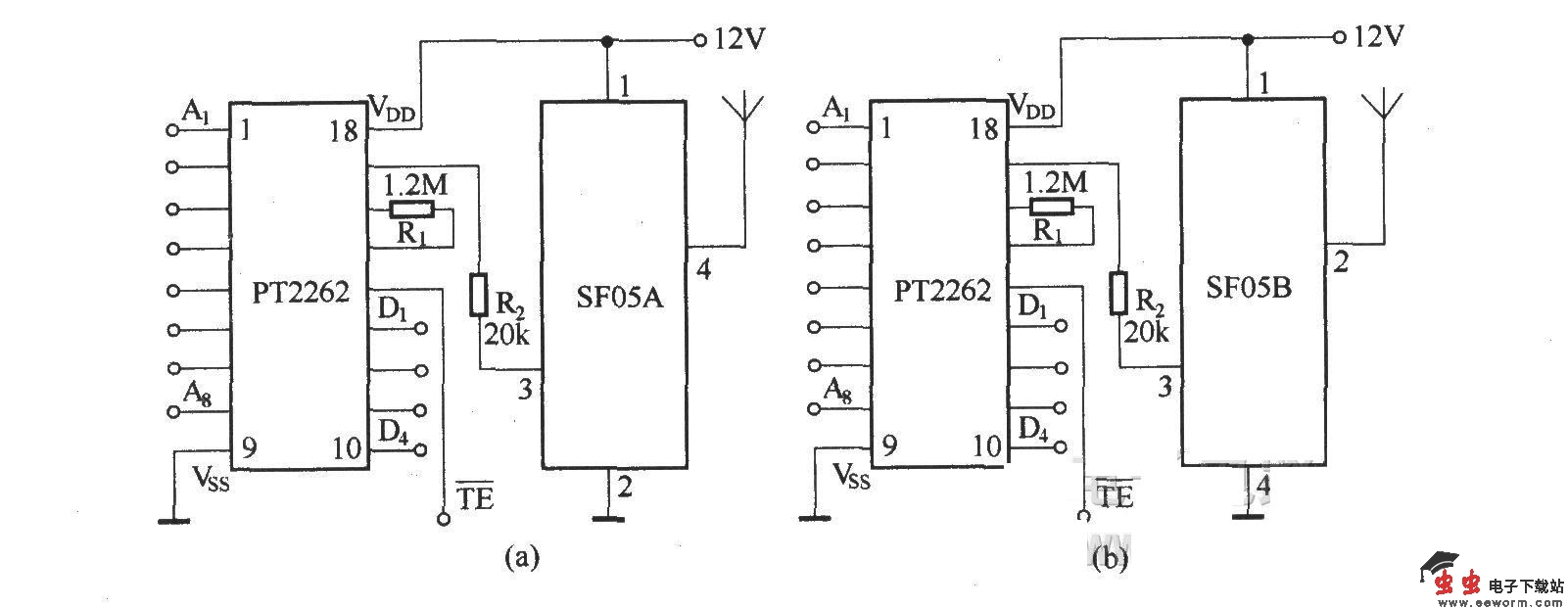
SF05A/B组成的发射电路

📅 发布时间:2013-09-28 00:50 👁️ 浏览:1 🏷️ 标签: 05A SF 05 发射电路

SF05A/B组成的发射电路

SF05A/B可与接收组件SJ05B,SJ04E,SJ04H配套使用.发射电路的发射效果与工作电压及发射天线及R2有关.

觉得这篇文章有帮助吗?