光控式电扇仿自然风模拟和名曲伴唱控制电路(CD4022)

📅 发布时间:2013-10-02 06:30 👁️ 浏览:0 🏷️ 标签: 4022 CD 光控 伴唱

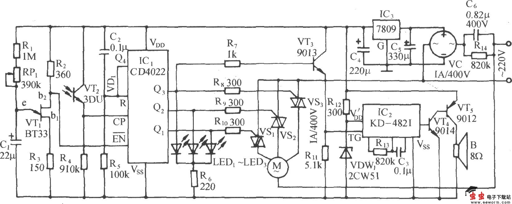
光控式电扇仿自然风模拟和名曲伴唱控制电路(CD4022)

电路如图所示。它由张弛振荡器、光控式脉冲计数/泽码电路、可控硅控制电机调速电路、乐曲发声电路和交流降压整流电路等组成。在强光束照射下,控制电路启动电风扇运行,并吹出阵阵自然风,同时,还伴有16首世界名曲的播出。

觉得这篇文章有帮助吗?