由LOG101与运放OPA2335构成的精密电流反向器/电流源电路二

📅 发布时间:2013-10-06 19:35 👁️ 浏览:2 🏷️ 标签: 2335 LOG 101 OPA

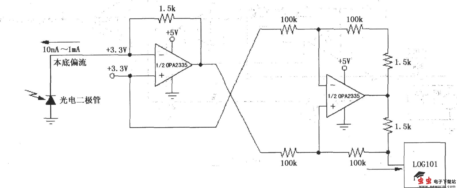
由LOG101与运放OPA2335构成的精密电流反向器/电流源电路二

如图所示为由LOG101与运放OPA2335构成的精密电流反向器/电流源电路。将光电二极管产生的负向信号电流经过两个运放OPA2335转换为流如LOG101的正向电流。

觉得这篇文章有帮助吗?