DZ-2型治疗仪的方框图如图47-1所示,由低频超声波发生器、射极跟随器、输出控制器、功率放大器、调制器及电源等组成,可以分三路输出(电针用),也可单路输出(治疗用)。
图47-1
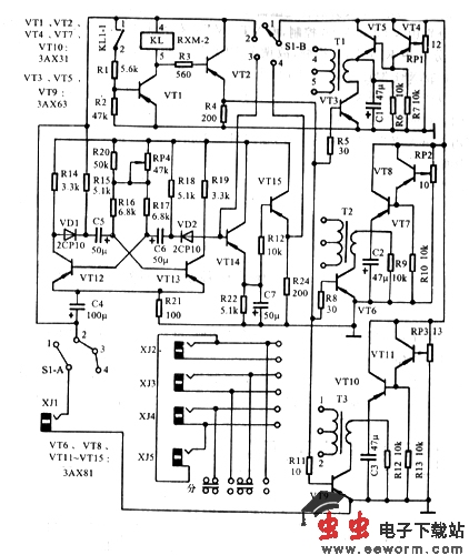
DZ-2型治疗仪的电路原理如图47-2所示。低频超声波发生器、功率放大器、输出调节的工作过程与DZ-1型相同。不同之处是在低频超声信号发生器与功率放大器之间加了一级射极跟随器,以提高带负载能力,供三路输出。调制器是由晶体管VT12和VT13组成的无稳态多谐振荡器,由VT13集电极输出。一路直接输出矩形波,一路经VT14及VT15射极跟随器形成起伏波进行调制。S1A与S1B联动,当S1处于“1”位时,整机断路不工作;当S1处于“2”位时,电源接通,连续超声波直接输出无调制;当S1处于“3”位时,超声波矩形波调制,呈间歇输出;当S1位于“4”位时,为起伏波调制,调制频率在12~42次/分之间,由RP4调整。VT1、VT2、VT4、VT7、VT10均为3AX31型管;VT3、VT5、VT9均为3AX63型管;VT6、VT8、VT11~VT15均为3AX81型管。
本治疗仪的治疗效果和DZ-1型治疗仪的治疗效果基本相当,但治疗范围和适用场合优于DZ-1型治疗仪。
