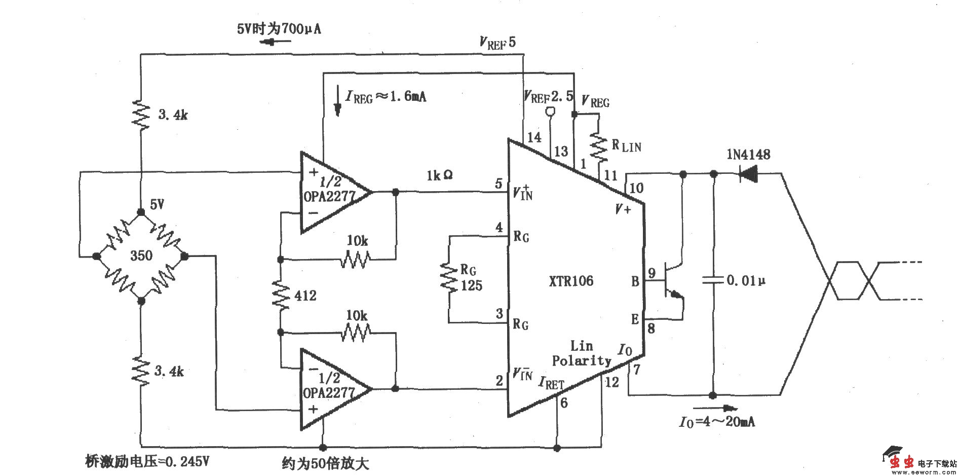
具有50倍预放大的电桥电路(XTR106)

📅 发布时间:2013-10-06 07:40 👁️ 浏览:1 🏷️ 标签: XTR 106 放大 电桥电路

具有50倍预放大的电桥电路(XTR106)

如图所示,XTR106内部有两个电压源(2.5V和5V)可提供激励,因此可适应范围很宽的电桥值,无需附加电路即可在低于1kΩ的电桥阻值下工作。XTR106用于低阻电桥时,在电桥两端串联电阻(3.4kΩ)以限制激励电流(<2.5mA)。采用双运放OPA2277构成放大器作为前置放大器,可补偿电桥输出的减小,同时降低失调电压和漂移。图中为校正正桥非线性,ITOTAL=0.7mA 1.6mA≤2.5mA。

觉得这篇文章有帮助吗?