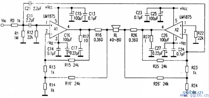
LM1875功率放大器电路简单,音色优美,具有胆机音色。用其制作的功率放大器,在正负25V电压下输出功率可达25W。
为了输出更大的功率,可以接成BTL电路。以下电路输出功率超过60W(8欧喇叭),是设计成的电流负反馈电路,音色更优美。另外,本板主推荐将图中的C11和C21取消,而在输入端加电容(将C11改在此处)。将电路改成直流放大器,效果会更好。
经过精心制作本功放耳贴在喇叭上基本上听不见噪音,本功放板比一张名片还小,1875采取卧式安装,所有连线都从铝板下面走,这样有利于提高信噪比,声音很柔顺耐听,有兴趣的朋友不妨试试。

