F007构成的性能优良的低频信号发生器

📅 发布时间:2013-10-08 01:10 👁️ 浏览:2 🏷️ 标签: F007 性能 低频信号 发生器

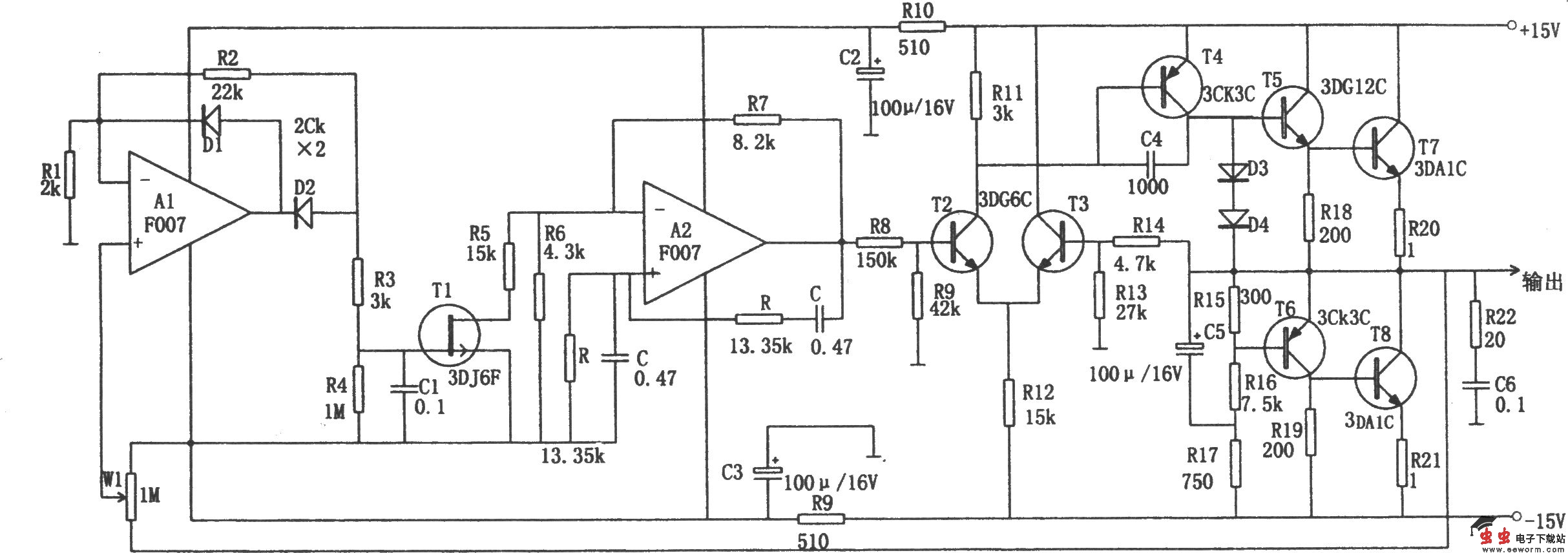
如图所示为性能优良的低频信号发生电路。该电路的特点是稳幅性能好,输出功率大,波形失真小,它是一种比较理想的低频测量信号源。图中,运算放大器A:及其反馈网络组成一典型的文氏振荡器,振荡频率为:

f0=1/2πRC

A2输出端与OCL互补推挽功率放大器相连,以提高电路的负载能力。运算放大器A1接成负半波放大器,并与W1、R4、C1、T1等元件构成负反馈稳幅电路。电位器W1既可以调节输出幅度,又在反馈环路中充当采样器。为了保证较小的波形失真,一般应使R1C1≥20πRC。

该电路输出幅度为0.5~5V,输出电流为0~1A,频率调节范围为10Hz ~10kHz,输出电阻小于等于0.05Ω,谐波失真小于0.1%。

觉得这篇文章有帮助吗?