上海新时过电梯控制柜(SM-01-C 变频器)

📅 发布时间:2013-10-03 21:30 👁️ 浏览:1 🏷️ 标签: SM 01 控制柜

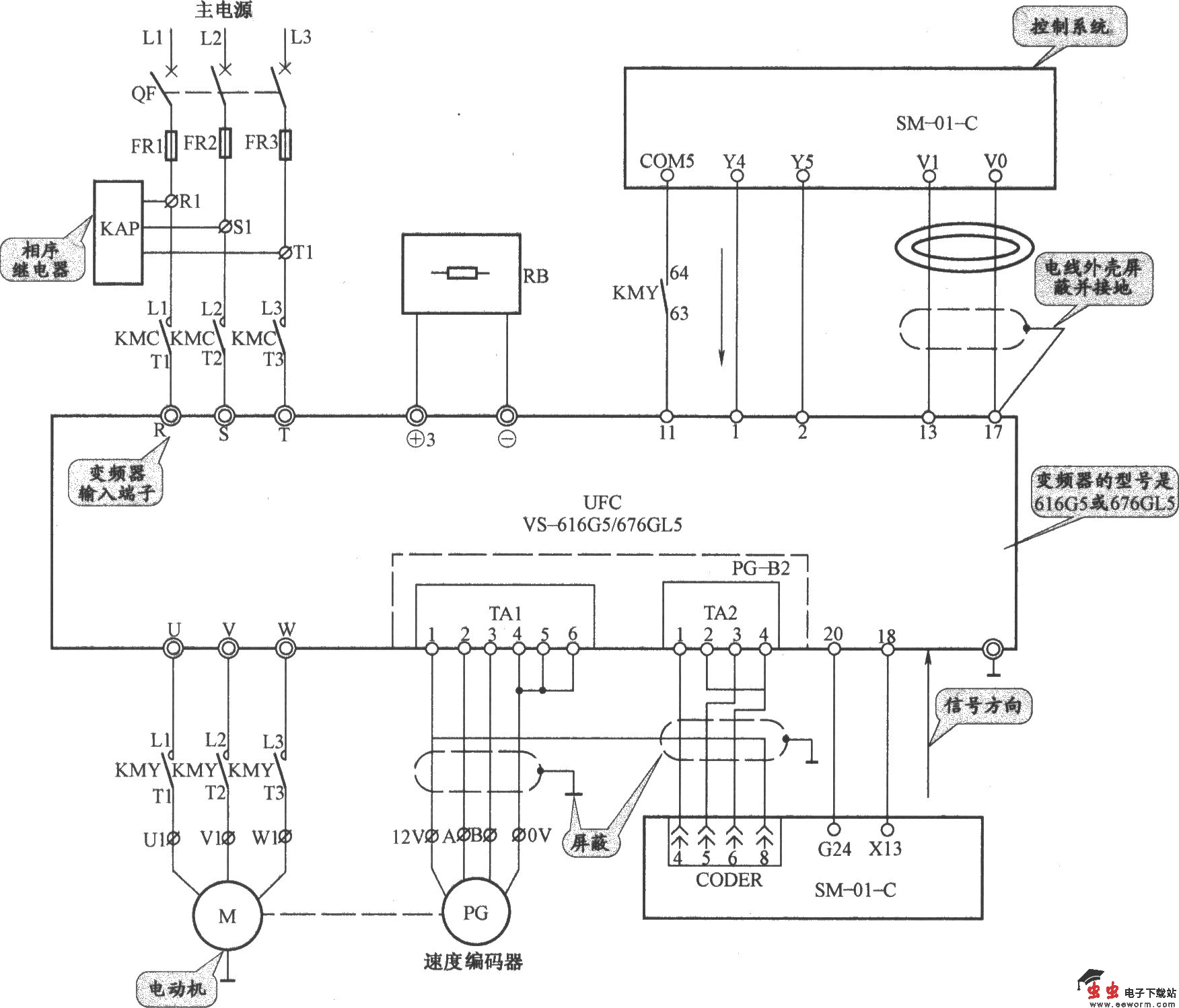
上海新时达电梯主电路:

上海新时过电梯控制柜(SM-01-C 变频器)

上海新时达电梯电源电路:

上海新时过电梯控制柜(SM-01-C 变频器)

上海新时达电梯安全回路电路:

上海新时过电梯控制柜(SM-01-C 变频器)

上海新时达电梯抱闸电路:

上海新时过电梯控制柜(SM-01-C 变频器)

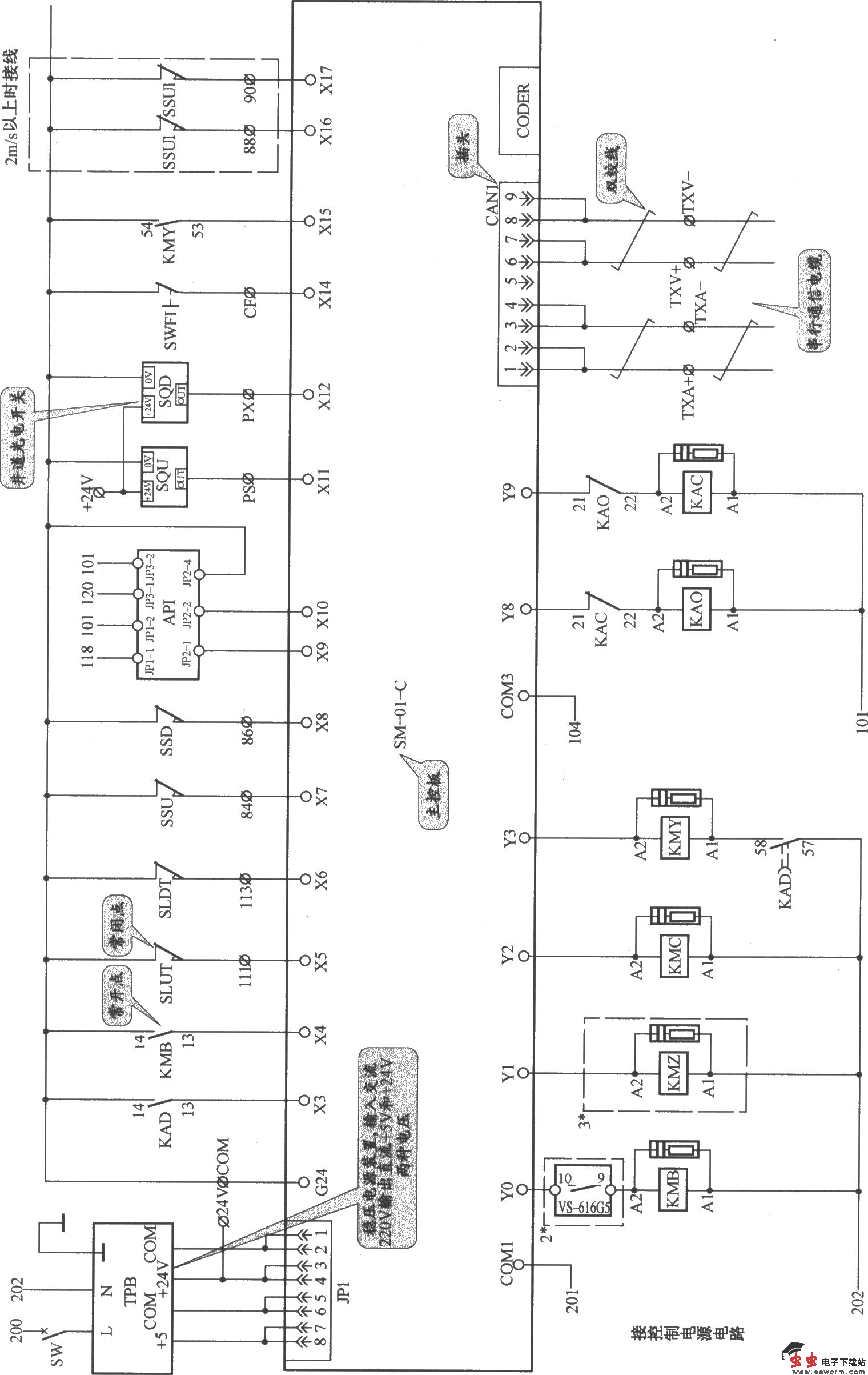
上海新时达电梯控制电路(1):

上海新时过电梯控制柜(SM-01-C 变频器)

上海新时达电梯控制电路(2):

上海新时过电梯控制柜(SM-01-C 变频器)

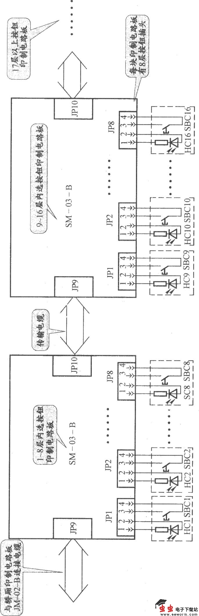
上海新时达电梯内选按钮接线电路:

上海新时过电梯控制柜(SM-01-C 变频器)

上海新时达电梯外呼按钮接线电路:

上海新时过电梯控制柜(SM-01-C 变频器)

上海新时达电梯检修电路:

上海新时过电梯控制柜(SM-01-C 变频器)

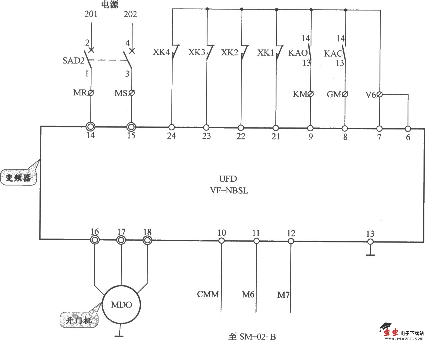
上海新时达电梯开门机电路:

上海新时过电梯控制柜(SM-01-C 变频器)

上海新时达电梯照明电路:

上海新时过电梯控制柜(SM-01-C 变频器) 

觉得这篇文章有帮助吗?