上海新时达电梯控制柜(PLC 变频器)

📅 发布时间:2013-10-03 21:15 👁️ 浏览:0 🏷️ 标签: PLC 控制柜 变频器

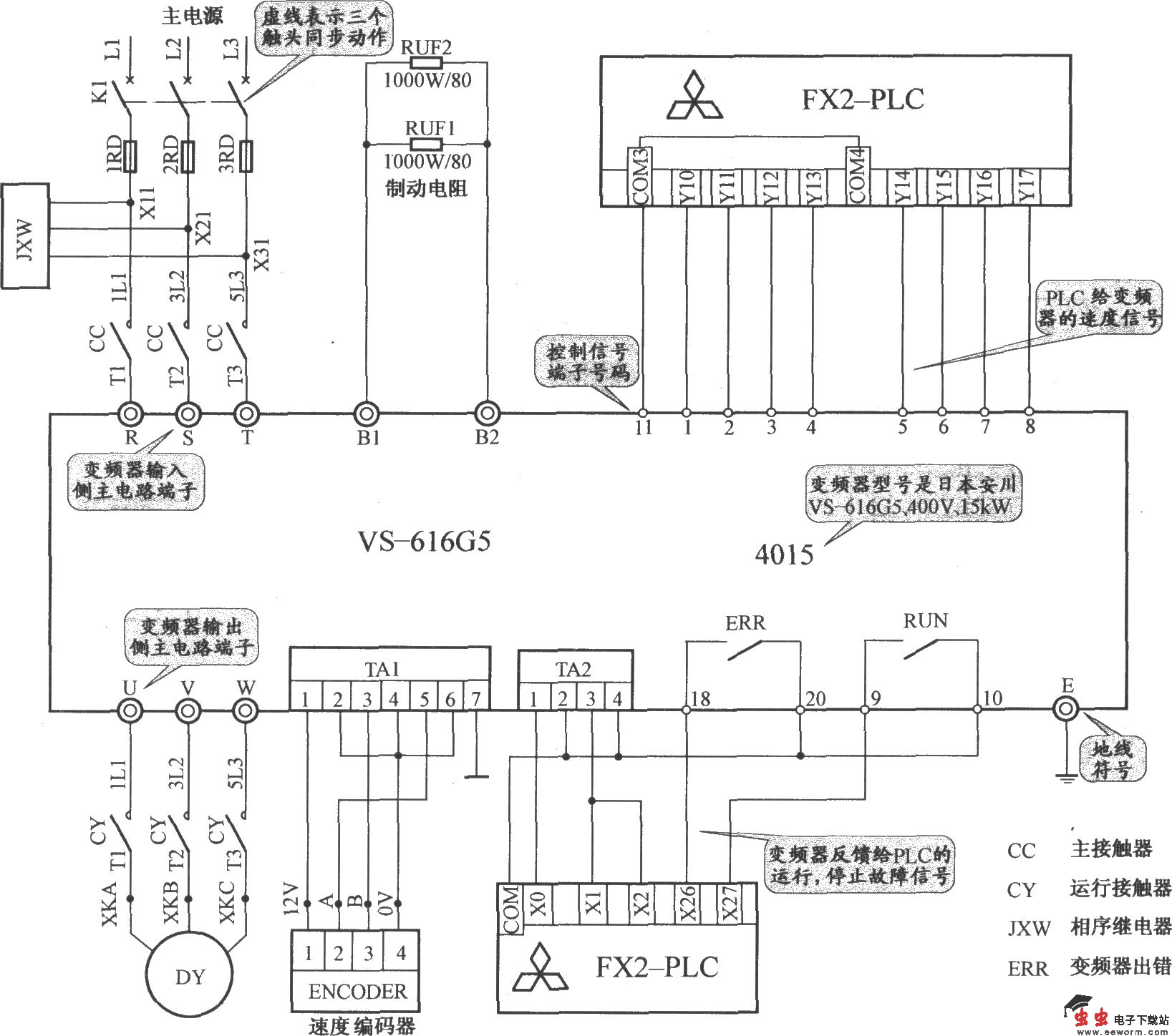
上海新时达电梯主电路:

上海新时达电梯控制柜(PLC 变频器)

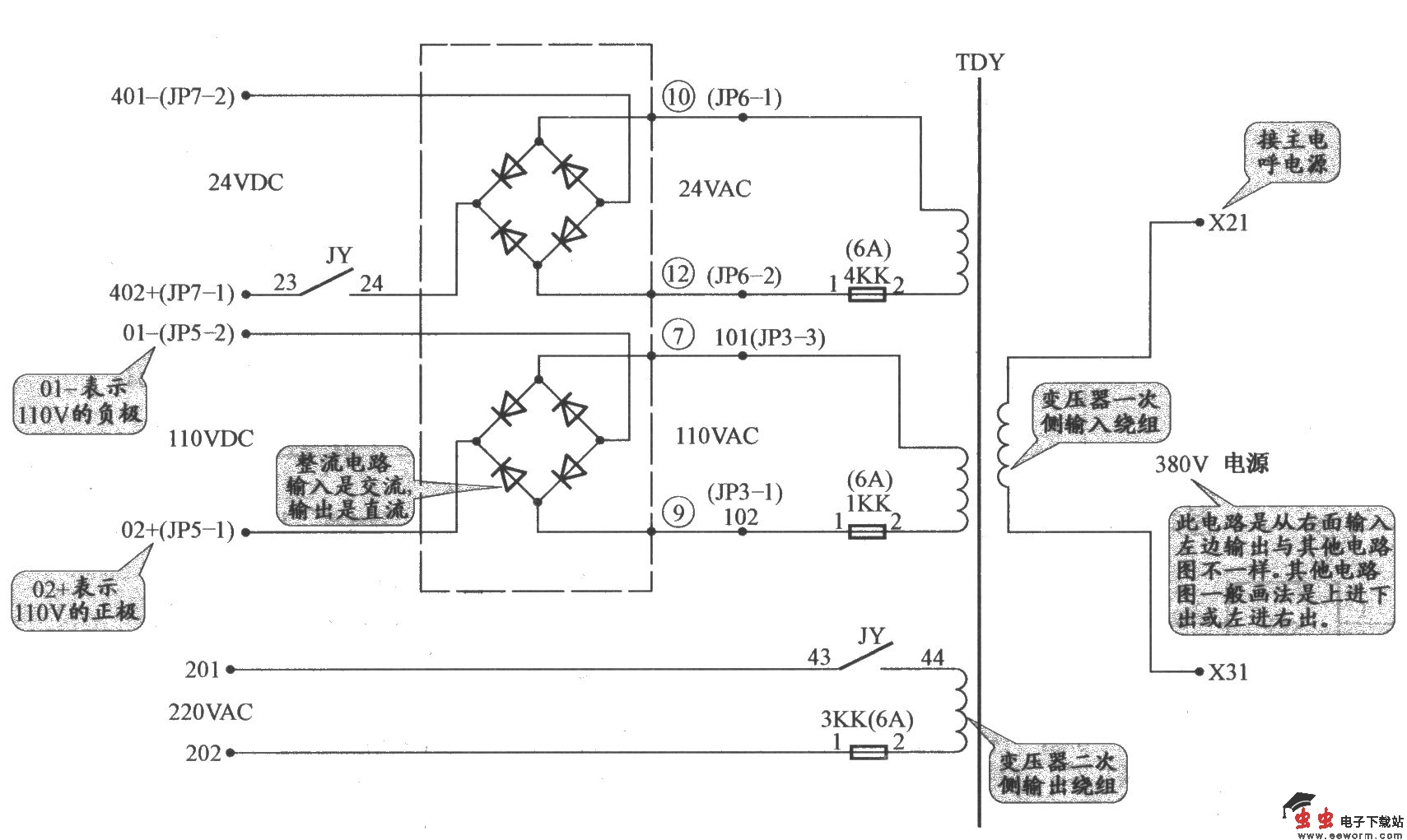
上海新时达电梯控制电源电路:

上海新时达电梯控制柜(PLC 变频器)

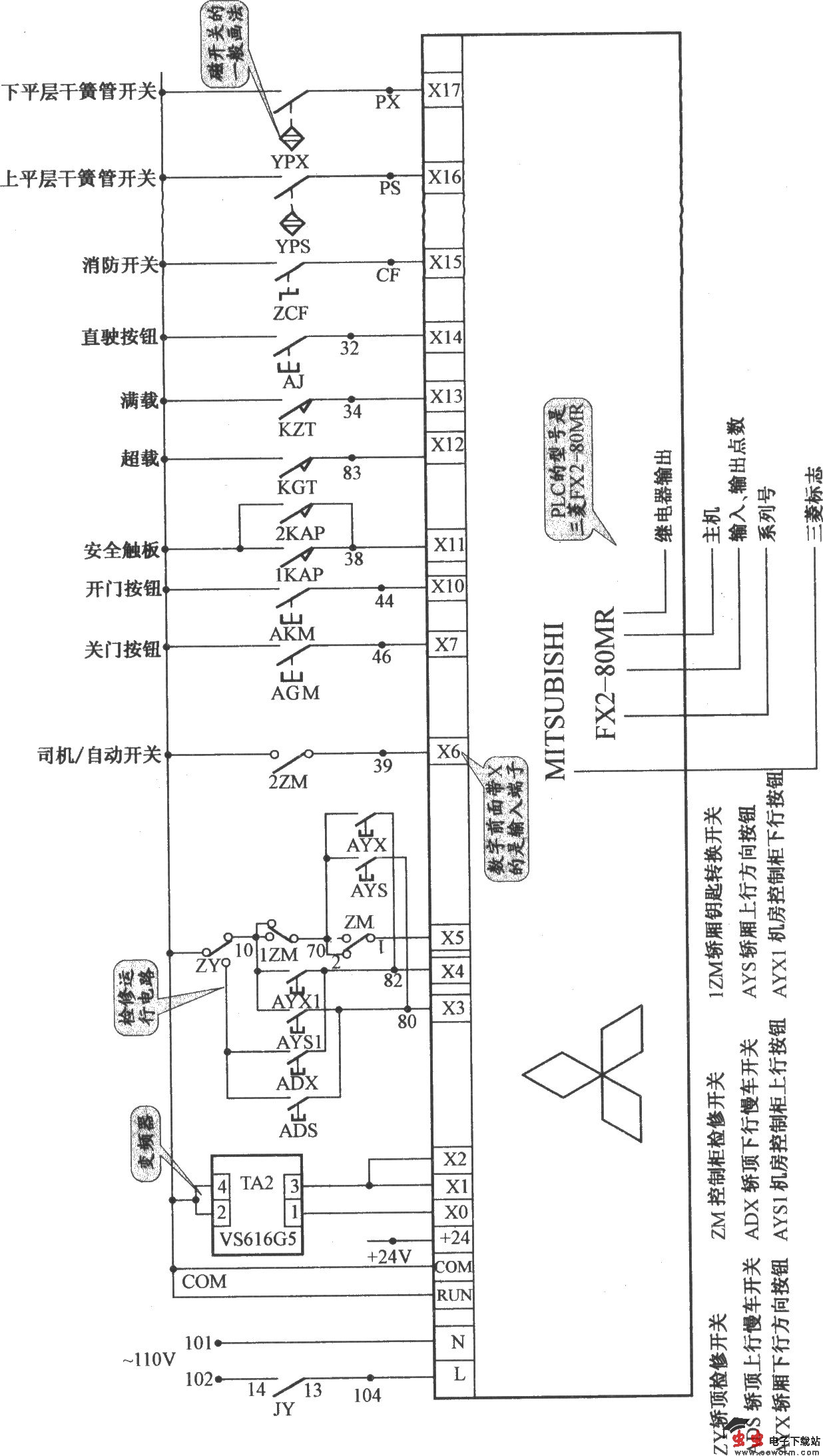
上海新时达电梯安全回路电路:

上海新时达电梯控制柜(PLC 变频器)

上海新时达电梯抱闸电路:

上海新时达电梯控制柜(PLC 变频器)

上海新时达电梯控制电路(1):

上海新时达电梯控制柜(PLC 变频器)

上海新时达电梯控制电路(2):

上海新时达电梯控制柜(PLC 变频器)

上海新时达电梯控制电路(3):

上海新时达电梯控制柜(PLC 变频器)

上海新时达电梯控制电路(4)

上海新时达电梯控制柜(PLC 变频器)

上海新时达电梯照明电路:

上海新时达电梯控制柜(PLC 变频器) 

觉得这篇文章有帮助吗?