TC621温度传感自动控温伴乐曲发声电路

📅 发布时间:2013-10-03 07:15 👁️ 浏览:0 🏷️ 标签: 621 TC 温度传感 控温

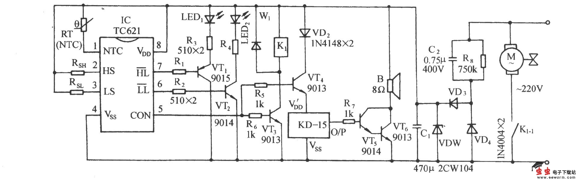
TC621温度传感自动控温伴乐曲发声电路

电路如图所示,它由温度传感及继电控制风扇电机电路、温限指示电路、乐曲发声电路和交流降压整流电路等部分组成。核心器件是TC621温控集成电路。

觉得这篇文章有帮助吗?