暖房花卉育苗湿度控制伴鸟鸣报叫电路(MS01-B)

📅 发布时间:2013-10-03 08:45 👁️ 浏览:1 🏷️ 标签: MS 01 湿度控制 电路

暖房花卉育苗湿度控制伴鸟鸣报叫电路(MS01-B)

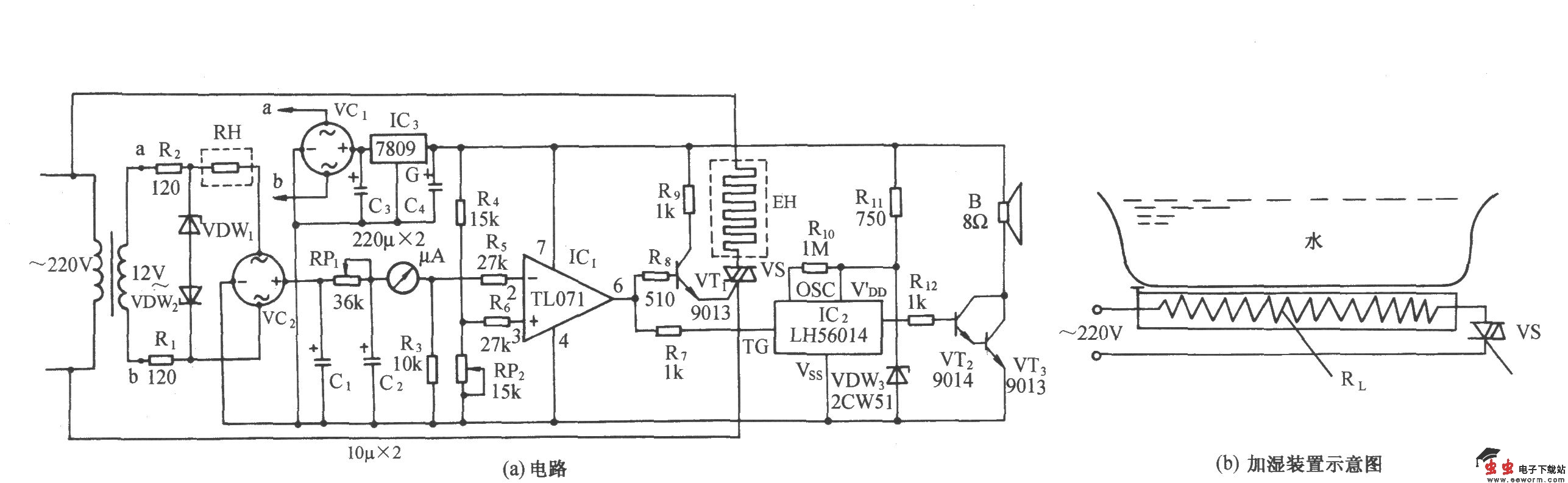
如图所示电路,它由湿度传感、检测电路、温度指示器、比较电路、可控硅控制加热电路、鸟鸣发声电路和交流降压整流电路组成。RH为湿度传感器,采用MS01-B型,当暖房内的相对湿度在20%~90%变化时,它的电阻可在几kΩ到上百kΩ范围内变化。

觉得这篇文章有帮助吗?