温度检测报警器电路

📅 发布时间:2013-09-30 04:35 👁️ 浏览:1 🏷️ 标签: 温度检测 报警器电路

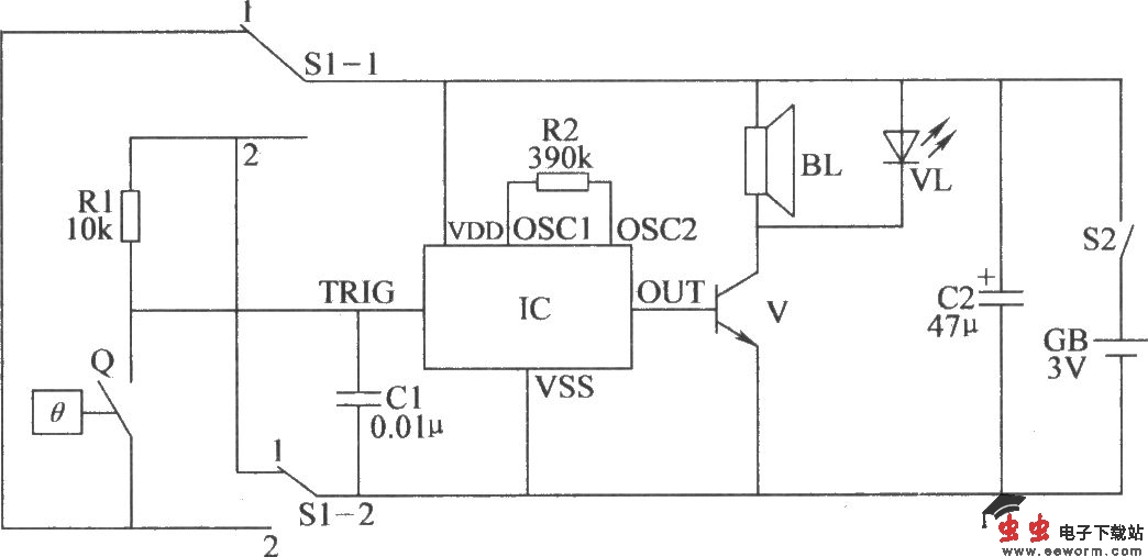
本例介绍的温度检测报警器,采用电热点温度计和音效集成电路等制作而成,其特点是电路简单实用,既可作为超温报警器使用,也可作为欠温报警器使用。 该温度检测报警器电路由温度检测控制电路和声光报警电路组成,如图所示。

温度检测报警器电路 

元器件选择 R1和R2均选用1/4W金属膜电阻器。 C1选用独石电容器或涤纶电容器;C2选用耐压值为l0V的铝电解电容器。 VL选用φ5mm的红色高亮度发光二极管。 V选用S9013或C8050型硅NPN晶体管。 IC选用KD9561或KD9562型音效集成电路。 BL选用0.25W、8Ω的电动式扬声器。 S1选用双极双位转换开关;S2选用单极拨动式开关。 Q选用WXG-11t型可调式电热点温度计。

觉得这篇文章有帮助吗?