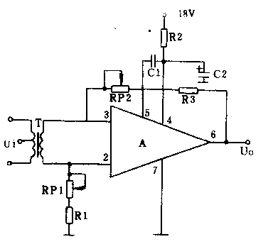
如图所示,采用A运算放大器作音频前置放大电路。其优点是体积小、噪音低、功耗小、一致性较好。利用运算放大器A可取得很深的负反馈,同时提高不失真输出.使信号失真度在1%以下;该放大器电压增益可达50~80dB。
其中,cl为高频补偿电容,c2、R2为去耦滤波电路。调节电位器RPl可平衡共模抑制比。电位器RP2为负反馈元件.调节RP2则可改变输出电平。
元器件选择:电容cl为82P,c2为100p/25v。电阻R1为27kn,R2为100n,R3为50kn。电位器RPl10kn,RP2为100kn。集成运算放大器A用GF2A。变压器T用晶休管收音机常用的小型输出变压器来代替。
其中,cl为高频补偿电容,c2、R2为去耦滤波电路。调节电位器RPl可平衡共模抑制比。电位器RP2为负反馈元件.调节RP2则可改变输出电平。
元器件选择:电容cl为82P,c2为100p/25v。电阻R1为27kn,R2为100n,R3为50kn。电位器RPl10kn,RP2为100kn。集成运算放大器A用GF2A。变压器T用晶休管收音机常用的小型输出变压器来代替。

觉得这篇文章有帮助吗?