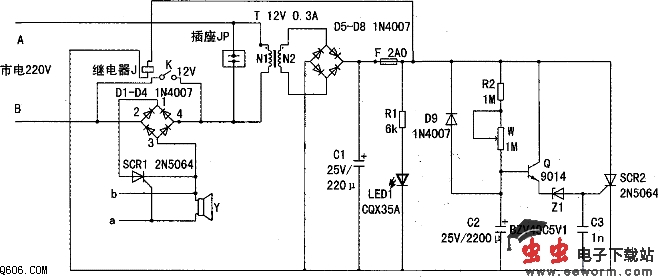
电路图中,把A、B两电接点接单相电插头插入带220V市电的单相电插座中,把装有英语磁带的放音机电源线插头插入专用的单相插座JP中,按下放音键。此状态即为待机准备播放状态。
在这个状态中,由于在电接点B这条线路中,有全波桥式整流电路集成块D1—4整流后的正负电压输出,它直接串接着单相可控硅SCR1。a和b两电接点间无铃声信号电压输入时,单向可控硅SCR1无触发电压而截止不导通.故全波桥式整流这条电路无电流通过,处于断路状态。另一条电路由于12V继电器J的控制接点K,在无工作电压情况下处于常开状态,故这条电路也无电流通过。这样单相插座JP无电压输出。放音机不放音。整个专用插座电路处于待机不工作状态。
插座JP自动输出电源的原理
当你所选定的播放英语时间到来之后对电路起关键作用的是电子表的闹铃信号。闹铃声发音器Y两端断续的铃信号音频电压经电路a4b接点加到单向可控硅SCR1的控制极G与阴极K之间。使单相可控硅SCR1断续导通。这样全波桥式整流D1一4断续导通,于是接在单相电插头A.B之间的变压器T断续地得到交流220V电压。这个断续的电能量经变压器T变压,D5—8全波桥式整流,电容C1滤波之后成为12V直流电并断续地加在继电器J的线圈两端,因而继电器J在单向可控硅第一次导通瞬间启动工作,使常开触点K闭合导通。这样变压器T得到接点K送来的稳定的交流电压,这个稳定的交流电压进一步又维持了继电器J的工作电压的稳定。使电流形成自锁良性循环。单相插座JP也通过闭合的继电器接点K从AB电插头问得到稳定的交流220V电压。这样每天自动播放英语专用插座圆满完成了它的稳定的电压自动输出,放音机得到220V交流电而自动放音。

单相插座JP220V计时输出及放音机自动停机
1、自动停机:放音机播放一定时间后,自动停机时刻到来。为了使放音机停机,设法使单向可控硅SCR2自动在预定时间导通,短路继电器J的工作电压,使继电器J常开触点K打开,瞬间切断整个电路的电源。短路继电器J的工作电压,即意味着短路变压器T的次级电压。因为整个电路是瞬间切断的,变压器T(12V.0.3A)的功率又很小,所以短路变压器的T的次级对变压器T及电路元件来说是安全的。在这同时,继电器J一并切断了单向插座JP的电压,放音机自动停止放音,使整个电路恢复原状,等待下一次闹铃信号电压的到来。
2、计时电路及自动触发单向可控硅SCR2导通:计时元件由(R2+W)和C2组成。计时时间的长短与(R2+W)、C2的乘积成正比。如果采用原理图中数值,计时保持放音时间可大约在20分钟至40分钟之间调节。当电路稳定的接通的瞬间,12V电源经(R2+W)给C2充电,放音计时即刻开始。由于使单向可控硅SCR2导通的控制极G正常触发电压太低(大约在0.6V左右),为 提高它的触发电压,以便更好地确定计时元件(R2+W)、C2的具体数值,在单向可控硅SCR2的控制极G串入了稳压管D10,它的击穿稳压值在5.5V左右。按说,计时放音开始后,计时元件C2的电压在经过(R2+W)的电流充电,使C点电压逐渐上升到6.2V左右,如果此时C点接稳压管,稳压管被击穿,就应该能够触发单向可控硅SCR2导通。但由于(R2+W)阻值太大,致使触发电流太小,无法使单向可控硅SCR2触发导通。为此如原理图所示。在计时元件(R2+W)、C2之后,稳压二极管D10之前又加了一级电流放大器Q。Q接成射极跟随器形式,对通过(R2+W)的触发电流进行放大,这样就保证了计时电容C2的电压被充到一定电压值(大约6.9V左右)之后,会成功地使单向可控硅SCR2顺利导通。实现放音机停机。
R1、LED是工作指示灯电路。D9是C2的放电二极管。C3能稳定SCR2的工作状态。
使用方法
调节好电子表闹铃时间,把专用插座.放音机电源线插好,放好磁带,按下放音键即可。等预定播放时间到来后,放音机会自动放音。