本文介绍的低音电路具有适应面广、可调性强、选择性好、失真度低的特点,并可进行特性设置,与合适的扬声器系统配有源箱,适用于重低音重放。
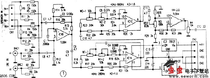
图1所示的是低音处理电路。

4个运算放大器IClB、IClA、IClC和IClD分别承担输入放大、窄频带滤波调节、宽频带滤波调节和倒相音量调节的功能。IClB输入放大电路对声源的LINE双声道线路输出和SPEAKER双声道扬声器功率输出分别在相叠加后进行同相放大和共模差分同相放大。扬声器输入端的电路结构不仅适合OCL功放输出,还适用于无接地端子的BTL功放输出。R16、C2和R15组合的反馈网络,使放大电路具有一阶低通滤波特性。IClA和IClC分别构成的是二个转折频率可调的塞伦·凯二阶低通滤波电路,调节W1、W2可方便地改变低通转折频率。最大的特点是可以设置一个并不随转折频率的调节而变化的固定的等效品质因数Q。可通过调整R20、R21和R25、R126间的阻值关系来进行设定。
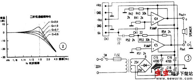
期望让重低音箱的低通特性能弥补其它声道音箱低频段的高通特性以求达到整体频响曲线平坦时,电路中的Q值应该设定在0.707左右(见图2)。本电路中的2个二阶滤波电路的Q值均为0.714,更接近于理想的滤波特性,并具有1.6倍的放大倍数。协调IC1A和IC1C电路的转折频率,以错落或同频等不同的叠加形式,可实现幅频特性向频率低端呈二阶至四阶的提升。当IC1C的转折频率调升到低频段外即200Hz之上至最大600Hz间时,在低频段内只有IC1A在发挥滤波作用、使整个电路呈二阶低通特性 。

我们知道,封闭式音箱和倒相式音箱低频段的幅频特性从转折频率向低端分别呈二阶和三至四阶衰减,因此,具有向低端呈二至四阶分频提升电路的有源低音箱能够起到合理弥补其他声道两种音箱由于这种衰减而造成低音损失的作用。IC1D是一个变换相位放大器电路,使用线性电位器W3与IC1D配合,实现对相位的切换控制。该电路的特点是:调节时,当电位器W3的触点置于近中心位置时,放大倍数为0,IC1D无信号输出;触点从中间分别滑向R28端或R29端的行程中,电路的增益分别呈反相状态和同相状态逐渐提升。至两端时,增益达到最大并且相等,但相位正好相反。推荐与低音处理电路相配套的BTL功放原理结构如图3所示,两个OCL功放各自独立工作,避免了噪声(尤其在大动态时)失真的传递和相位的延迟。它较小的输入阻抗,减小了外界干扰信号的窜入。为使两个功放有相同的放大倍数,需取R43、R53和R55,R43和R53有相同的阻值。本电路适合各种集成功放如流行的LMl875、LM3886等。若想省却一个集成功放,可以从C51前革除IC5,切换SPEAKER至a、c二端,仅让IC4以OCL形式作功率放大。此时IC4应采用LM3886等。本电路在音频范围内用仪器实测的幅频特性与理论计算结果几乎完全吻合。噪声很小,实际使用效果良好。使用中,不要将功放输出信号与线路输出信号二种信号同时接入。在确定W3旋转方向以判断相位取向时,应以有源音箱输出与主音箱的输出在低音段和谐增强为正确。后续功放的功率有50W甚至100W以上为宜。