电路工作原理
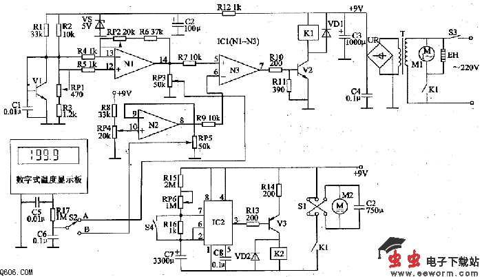
该禽蛋自动孵化器电路由电源电路、温度/通风控制电路、自动翻蛋电路和温度指示电路组成,如图1所示。
电源电路由电源开关S3、电源变压器T、整流桥堆UR和电容器C2-C4、限流电阻器Rl2和稳压二极管VS组成。
温度/通风控制电路晶体管Vl、V2、电阻器Rl-Rll、电位器RPl-RP5、运算放大器集成电路lCl(Nl-N3)、继电器Kl、二极管 VDl、风扇电动机Ml和加热器EH组成。其中Vl、Cl、Rl-R6、RPl、R陀和ICl内部的Nl组成温度检测控制电路;R7、RlO、Rll、 RP3、ICl内部的N3、V2和VDl组成Kl的驱动控制电路;电阻器R8、Rg、RP4、RP5和ICl内部的N2组成缓冲放大电路。
自动翻蛋电路由电阻器Rl3-R16、电位器RP6、电容器C7-C9、时基集成电路IC2、晶体管V3、二极管VD2、继电器K2、限位开关Sl、触发开关叫和直流电动机M2组成。其中IC2和外围阻容元件组成无稳态电路;V3和Rl3、R14、VD2、K2和Sl组成M2的控制电路。

接通电源开关S3,交流220V电压经T降压、UR整流、C3和C4滤波后,产生+9V工作电压,供给Kl的驱动控制电路、缓冲放大电路和自动翻蛋电路。+9V电压还经Rl2限流降压、C2滤波及VS稳压后,为温度检测控制电路提供+5V工作电压。
Vl作为温度传感器,用来检测孵化箱内的温度,其发射结 (b、e极之间)电压随着温度的升高而下降(温度系数为-2mV/℃)。RP4用来设定控制温度。
在孵化箱内的环境温度低于R叫的设定控制温度时,放大器Nl和N3输出高电平,使V2饱和导通,Kl通电吸合,其常开触头接通,风扇电动机Ml和加热器 EH通电工作。在孵化箱内的环境温度超过设定的控制温度时,放大器Nl和N3均输出低电平,使V2截止,Kl释放,其常开触头断开,风扇电动机Ml和加热器EH停止工作。此过程周而复始,使孵化箱内温度恒定为设定的温度。
在电源接通瞬间,由于C7两端电压不能突变,IC2的2脚和6脚为低电平,3脚输出高电平,V3截止,m处于释放状态,M2不工作。随后C7通过R16、RP6和Rl5充电,使IC2的2脚和6脚的电位逐渐上升。当C7两端电压充至6V以上 (约2h)时,IC2内电路翻转,3脚变为低电平,使V3导通,m通电吸合,其常开触头接通,使M2通电转动,通过减速和牵引装置使放孵化蛋的孵化盘往一个方向倾斜,完成翻蛋动作。
当孵化盘倾斜至一定角度 (约70°)时,安装在减速牵引轮上的触发机构使S1的常开触头捧通,常闭触头断开,使加在M2上的电源极性改变,同时引瞬间接通一下,使IC2的7脚内部的放电输出电路工作,C7快速放电,当C7两端电压电压低于3V时,lC2的3脚变为高电平,使V3截止,K2释放,其常开触头断开,使M2停止转动。随后C7又通过R16、RP6和Rl5缓慢充电,当C7两端电压充至6V以上时,IC2内电路又翻转,3脚输出低电平,便V3导通,灼通电吸合,其常开触头接通,使M2通电转动,通过减速和牵引装置使放孵化蛋的孵化盘往相反方向倾斜,完成翻蛋动作。
当孵化盘倾斜至一定角度时,安装在减速牵引轮上的触发机构又使S1的常开触头断开,常闭触头接通,使加在M2上的电源极性改变,同时S4又被触发接通一下,使IC2第7脚内部的放电输出电路工作,C7快速放电,当C7两端电压电压低于3V时,IC2的3脚变为高电平,使V3截止,K2释放,其常开触头断开,使M2又停止转动。
以上工作过程周而复始地进行,即可实现每2h自动翻蛋一次。
调节RPl和RP2的阻值,可改变Vl发射结上电压随温度变化的斜率。
调节RP3和RP5的阻值,可调节显示温度的准确度。
调节RP6的阻值,可改变自动翻蛋的时间。
数字式温度显示板用来显示孵化箱内的温度和设定温度。将温度显示转换开关S2置于A位置时,用来显示孵化箱内的温度;将温度显示转换开关S2置于B位置时,用来显示设定的控制温度。
元器件选择
Rl-R17均选用1/4W碳膜电阻器或金属膜电阻器。
RPl-RP5选用优质合成膜电位器或多圈电位器;RP6选用有机实心电位器。
Cl、C4-C6和C8均选用独石电容器;C2、C3和C7均选用耐压值为16V的电解电容器;C9使用两只470μF、耐压值为lOV的铝电解电容器串联 (两电容器的正极相串联)。[!--empirenews.page--]
VDl和VD2均选用1N4007型硅整流二极管。
VS选用1/2W、5V的稳压二极管。
Vl选用3DG6型硅NPN晶体管;V2选用S9013、C8050或3DGl2型NPN晶体管;V3选用C8550或3CG8550型PNP晶体管。
UR选用1-2A、5OV的整流桥堆。
ICl选用LM324型运算放大集成电路;IC2选用NE555型时基集成电路。
Kl和K2选用KKR-l3F型9V直流继电器。
Ml选用2OW的小型风扇电动机 (使用时可安装在孵化箱下部迸气孔附近);M2使用9V直流减速电动机。
EH可根据孵化箱的容积合理选用。
S1选用双极双位微动开关;52选用单极双位转换开关;53选用10A、220V的电源开关;S4选用高灵敏度微动开关。