⭐ 欢迎来到虫虫下载站!
|
📦 资源下载
📁 资源专辑
ℹ️ 关于我们
⭐ 虫虫下载站
🔐
登录
📝
注册
虫虫下载站
专业电子工程师资源平台
📤 上传资源
🏠 首页
📦 资源下载
📁 资源专辑
🔧 热门软件
⭐ 精品资源
🎓 基础知识
📐 电路图
📚 电子书
🔢 在线计算器
🔍 代码搜索
🏠 首页
›
电路图
›
基础电路
›
信号灯电路图
信号灯电路图
📅 发布时间:
2013-09-22 20:00
👁️ 浏览:
0
🏷️ 标签:
信号灯
电路图
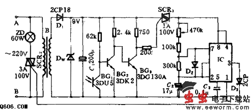
本电路适用于施工现场的安全信号灯。在施工现场将A、B两端点并入220V的市电经变压器B降压,二极管D1,Dw整流、C1滤波,给光电天关提供约9V的直流电。Dw起整流和稳压双重作用。白天在强光的作用下,光电开关阻断,SCR1无触发电流而处于断态,红色信号指示灯ZD不亮。肖夜幕降临时,光电开关处于通态,IC等组成的振荡的高电平电路开始工作,IC的3不断输出超频矩开脉冲,SCR2在此脉冲的高电平下导通,在低电平下截止,因此可看到信号灯一闪一闪地发光。
觉得这篇文章有帮助吗?
👍 来顶一下 (
77
)
🔐 用户登录
×
加载中...
加载登录表单中...
🎁
免费注册送10积分
×
加载中...
加载注册表单中...
🔑 找回密码
×
加载中...
加载表单中...
🔐
需要登录
×
🔒
登录后即可使用!
🎁
新用户注册立即送10积分
积分可用于下载资源,免费获取优质技术资料
🚪
退出登录
×
👋
确认要退出登录吗?
退出后需要重新登录才能下载资源