电路工作原理
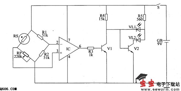
该湿度指示器电路由湿度检测放大器和LED指示电路组成,如图所示。

湿度检测放大器由湿敏传感器RS、电阻器RI、R2、电位器RP和运算放大器集成电路IC组成。其中RS与R1、R2和RP组成应变电桥电路。
LED指示电路由电阻器R3~R5、发光二极管VL1、VL2和晶体管V1、V2组成。
接通电源开关s后,整机通电工作。在育秧棚内湿度正常时,RS的阻值较大,IC因反相输人端电位高于正相输人端电位而输出低电平,VI截止,红色发光二极管VL1不发光;Y2导通,绿色发光二极管Ⅴ⒓发光,指示棚内湿度正常。
若育秧棚内湿度增大,则RS的阻值变小,当湿度超过设定值时,IC因正相输人端电位高于反相输入端电位而输出高电平,使VI导通,VL1发光,指示棚内湿度过大,提醒农户及时通风以减小棚内湿度;同时V2截止,VL2熄灭。
调节RP的阻值,可以设定需要警示的湿度值。
元器件选择
R1~R5选用1/4W金属膜电阻器或碳膜电阻器。
RP选用有机实心电位器或可变电阻器。
RS用值大于100的3DG6型晶体管制作:去掉该晶体管的金属帽后,将其放在浓盐水中浸泡后晒干,实测干时其c、e极间电阻值大于20OkΩ,湿时其c、e极间电阻值为10kΩ左右即可。测量时,用万用表的黑表笔接C极,红表笔接额极,用嘴向晶体管心片上呵气时,万用表指针应迅速向右摆动;当管心片上的水蒸气蒸发后,表针能渐渐向左摆回即为正常。
VL1和VL2均选用∮5mm的发光二极管。
V1和V2均选用3DG6或59013型硅NPN晶体管。
IC选用似A741或5624型运算放大器集成电路。
CB选用9Y叠层电池。
S选用小型单极拨动式开关。