⭐ 欢迎来到虫虫下载站!
|
📦 资源下载
📁 资源专辑
ℹ️ 关于我们
⭐ 虫虫下载站
🔐
登录
📝
注册
虫虫下载站
专业电子工程师资源平台
📤 上传资源
🏠 首页
📦 资源下载
📁 资源专辑
🔧 热门软件
⭐ 精品资源
🎓 基础知识
📐 电路图
📚 电子书
🔢 在线计算器
🔍 代码搜索
🏠 首页
›
电路图
›
基础电路
›
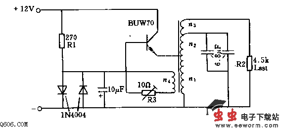
直流12v正弦交流22Dv、50N、10w变换器电路图
直流12v正弦交流22Dv、50N、10w变换器电路图
📅 发布时间:
2013-09-21 13:40
👁️ 浏览:
5
🏷️ 标签:
12v
10w
50N
22
该电路晶体管采用单边乙类放大工作方式。利用电位器R3可以调整晶体管的放大倍数。如果负载部分包括无功分量,则必须考虑到相应的频率变化量。
主要技术数据:电池电压:12V 电池电流:2.5V 输出电压:220V,50Hz
额定输出功率:10W 晶体管损耗功率:7W 散热片面积:200cm平方 变压器数据:n1=65匝,1.2mm铜漆包线
觉得这篇文章有帮助吗?
👍 来顶一下 (
94
)
🔐 用户登录
×
加载中...
加载登录表单中...
🎁
免费注册送10积分
×
加载中...
加载注册表单中...
🔑 找回密码
×
加载中...
加载表单中...
🔐
需要登录
×
🔒
登录后即可使用!
🎁
新用户注册立即送10积分
积分可用于下载资源,免费获取优质技术资料
🚪
退出登录
×
👋
确认要退出登录吗?
退出后需要重新登录才能下载资源