⭐ 欢迎来到虫虫下载站!
|
📦 资源下载
📁 资源专辑
ℹ️ 关于我们
⭐ 虫虫下载站
🔐
登录
📝
注册
虫虫下载站
专业电子工程师资源平台
📤 上传资源
🏠 首页
📦 资源下载
📁 资源专辑
🔧 热门软件
⭐ 精品资源
🎓 基础知识
📐 电路图
📚 电子书
🔢 在线计算器
🔍 代码搜索
🏠 首页
›
电路图
›
基础电路
›
光棒放大电路图
光棒放大电路图
📅 发布时间:
2013-09-21 07:10
👁️ 浏览:
3
🏷️ 标签:
放大电路图
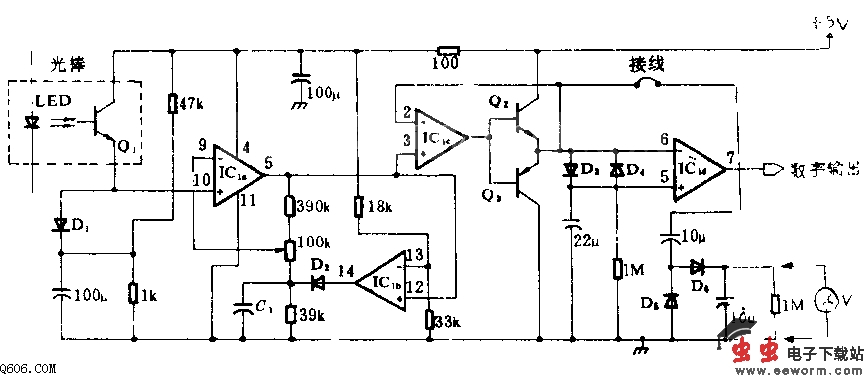
本电路主要由光棒和四运算放大器IC1组成。IC1为放大器,利用硅二极管的指数式正向导电特性,把光棒的输出变换成对数式的变化电压,其峰-峰值正比于白、黑光电流之比,而与绝对值无关。IC1b为比较器,和峰值检测器D2-C1一起把放大器IC1n的输出箝到固定电位。于是,放大和箝位后的信号变换成微处理器需要的二进制数字式输出。输出是与TTL兼容的。
觉得这篇文章有帮助吗?
👍 来顶一下 (
79
)
🔐 用户登录
×
加载中...
加载登录表单中...
🎁
免费注册送10积分
×
加载中...
加载注册表单中...
🔑 找回密码
×
加载中...
加载表单中...
🔐
需要登录
×
🔒
登录后即可使用!
🎁
新用户注册立即送10积分
积分可用于下载资源,免费获取优质技术资料
🚪
退出登录
×
👋
确认要退出登录吗?
退出后需要重新登录才能下载资源