⭐ 欢迎来到虫虫下载站!
|
📦 资源下载
📁 资源专辑
ℹ️ 关于我们
⭐ 虫虫下载站
🔐
登录
📝
注册
虫虫下载站
专业电子工程师资源平台
📤 上传资源
🏠 首页
📦 资源下载
📁 资源专辑
🔧 热门软件
⭐ 精品资源
🎓 基础知识
📐 电路图
📚 电子书
🔢 在线计算器
🔍 代码搜索
🏠 首页
›
电路图
›
基础电路
›
家用增压水泵保护电路图
家用增压水泵保护电路图
📅 发布时间:
2013-09-19 17:30
👁️ 浏览:
1
🏷️ 标签:
家
增压
保护电路图
水泵
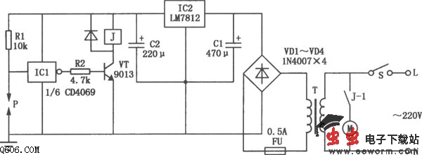
本电路是家用增压水泵保护器,不仅能为家庭水压增压,而且还能有效地保护电机。电路如图所示。市电经变压器T降压、整流二极管VDl~VD4整流、IC2(LM7812)稳压、Cl和C2滤波后,为电路提供直流工作电源。工作时闭合电源开关S,若水管无水,则P与地近似绝缘状态,反相器ICl输入高电平,输出低电平,VT截止,J释放。其触点J-1断开,增压水泵M不运转,从而避免了水泵空转。若水管内有水,P与钢管外壳经水电阻导通,ICl输入低电平,输出高电平,VT导通,J吸合,水泵M正常运转。IC1取CD4069型六反相器,图中仅使用其中一组反相器,其余五组反相器悬空不用(将其输入端全部接地,以防干扰)。P为无水检测传感器,需要自制。方法是:在水管上钻一个孔,将汽车火花塞装入,注意加垫以防漏水,在火花塞针处引出P极,水管(钢管)外壳接地即可。
觉得这篇文章有帮助吗?
👍 来顶一下 (
74
)
🔐 用户登录
×
加载中...
加载登录表单中...
🎁
免费注册送10积分
×
加载中...
加载注册表单中...
🔑 找回密码
×
加载中...
加载表单中...
🔐
需要登录
×
🔒
登录后即可使用!
🎁
新用户注册立即送10积分
积分可用于下载资源,免费获取优质技术资料
🚪
退出登录
×
👋
确认要退出登录吗?
退出后需要重新登录才能下载资源