⭐ 欢迎来到虫虫下载站!
|
📦 资源下载
📁 资源专辑
ℹ️ 关于我们
⭐ 虫虫下载站
🔐
登录
📝
注册
虫虫下载站
专业电子工程师资源平台
📤 上传资源
🏠 首页
📦 资源下载
📁 资源专辑
🔧 热门软件
⭐ 精品资源
🎓 基础知识
📐 电路图
📚 电子书
🔢 在线计算器
🔍 代码搜索
🏠 首页
›
电路图
›
基础电路
›
三种波形信号发生器电路图
三种波形信号发生器电路图
📅 发布时间:
2013-09-19 08:50
👁️ 浏览:
3
🏷️ 标签:
波形
信号发生器
电路图
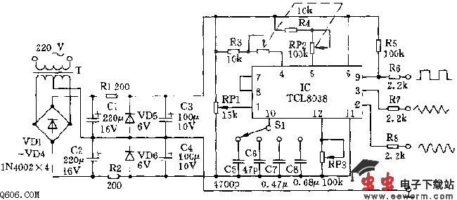
TCL8038是一种专用函数发生电路,具有多种波形输出的功能(方波、三角波、正弦波)。其工作电流约10mA,用正负电源。电路如图所示。图中C5~C8采用温度系数小,误差小的电容。S1打在C8挡时可输出1Hz以下的脉冲波形。RP2采用51~100k欧双连线性电位器,便于频率刻度。RP1、RP3用来微调输出的波形,使其上、下峰沿平滑。S1为频率粗调挡,RP2为频率细调电位器。调试时,可借助一台数字频率计进行频率刻度标定。并用示波器测波形,调整电位器RP1和RP3.调RP1使方波信号的占空比为50%,调RP3使正弦波信号更趋于平滑。该信号发生器的频率由公式0.3/RAv.(C5~C8)决定,其频率在1Hz~1MHz范围内。
觉得这篇文章有帮助吗?
👍 来顶一下 (
91
)
🔐 用户登录
×
加载中...
加载登录表单中...
🎁
免费注册送10积分
×
加载中...
加载注册表单中...
🔑 找回密码
×
加载中...
加载表单中...
🔐
需要登录
×
🔒
登录后即可使用!
🎁
新用户注册立即送10积分
积分可用于下载资源,免费获取优质技术资料
🚪
退出登录
×
👋
确认要退出登录吗?
退出后需要重新登录才能下载资源