1、技术性能
a、输入电源:直流24V正负10%; b、额定输出:60~90V之间交流; c、频率:20Hz正负5Hz; d、工作条件:温度为+5~+40摄氏度,相对温度《80%的环境下,可以24小时连续使用。
2、工作原理
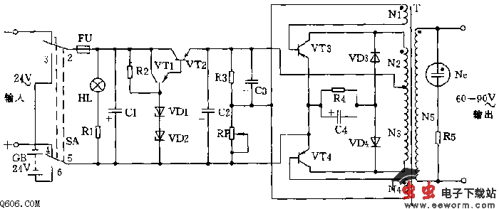
晶体管铃流发生器的基本元件有主振管VT3、VT4,变压器T,稳压元件VT1、VT2、VD1、VD2和R2及过压吸收元件VD3、VD4和R4、C4等。
如图所示。主振三极管VT3、VT4接成由变压器T耦合的推挽自激振荡电路,产生20正负5Hz振荡电流。VT3、VT4晶体三极管的发射与基极电压,由偏压电位器RP两端取得。偏压电位器RP和分压电阻R3串联接到24V电源之上,RP的数值约为R3的1%,因此加在发射极与基极间的固定电压约为0.24V.在晶体管VT3、VT4的基极电路上接入极性相反的反馈线圈N1和N4.
变换器接入24V电源时,VT3、VT4二主振晶体管的集电极与发射极之间接入--24V电压,发射极与基极之间通过反馈线圈接入约+0.24V电压,这时,就在两只晶体管上产生基极电流,并在变压器T的初级线圈即N2、N3两臂上产生方向相反的集电极电流。由于变压器两臂电流的方向是相反的,如果两臂的线圈电流是相等的话,那么变压器初级线圈两端电压将为零,在两主振晶体三极管上也不会产生振荡电流。但是,由于两只三极管的特性不会完全一样,在变压器铁芯内产生的方向相反的磁通不会完全抵消,总有一差磁通存在,因此就在两只反馈线圈上感应而产生电压。由于两个反馈线圈的极性是相反的,并且这一电压与偏压电位器RP上的电压相串联,构成晶体三极管上的发射极与基极电压。如果集电极电流较强的一臂的磁通在反馈线圈上感应而产生电压的极性与RP上的电压是相同的话,那么由于发射极与基极电压不断增长,直至达到晶体三极管可能的最大集电极电流,使晶体三极管处于完全导通状态,同时集电极电流较弱的一臂,由于反馈线圈上的电压与偏压电位器RP上的电压极性相反。集电极电流将不断减少直至完全截止,这时几乎全部电源电压都加在导通的一臂上。

当导通晶体三极管电流达到最大值时,磁通不再增长,因而使反馈线圈两臂的电动势下降至零。导通一臂的基极电流和集电极电流开始减少,磁通也随之下降。这时在反馈线圈的两臂上又重新感应出电动势,但这次的极性与前次相反使原来导通一臂趋于截止,原来截止的一臂变为导通,这样周期性的重复,就不断在变压器T初级线圈N2、N3的两臂上产生交变电流。
觉得这篇文章有帮助吗?