⭐ 欢迎来到虫虫下载站!
|
📦 资源下载
📁 资源专辑
ℹ️ 关于我们
⭐ 虫虫下载站
🔐
登录
📝
注册
虫虫下载站
专业电子工程师资源平台
📤 上传资源
🏠 首页
📦 资源下载
📁 资源专辑
🔧 热门软件
⭐ 精品资源
🎓 基础知识
📐 电路图
📚 电子书
🔢 在线计算器
🔍 代码搜索
🏠 首页
›
电路图
›
基础电路
›
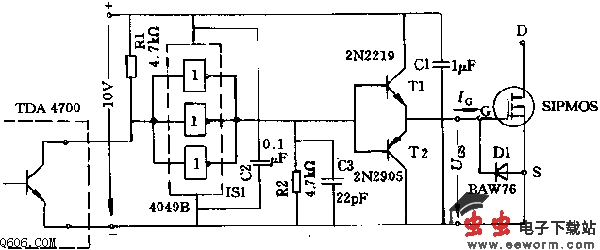
采用互补晶体管和CMOS驱动级的推扭电路图
采用互补晶体管和CMOS驱动级的推扭电路图
📅 发布时间:
2013-09-19 02:50
👁️ 浏览:
2
🏷️ 标签:
CMOS
互补晶体管
驱动级
推扭电路
利用CMOS反相器4049作TDA4700输出信号的反相级和晶体管T1、T2的驱动级。三个反相器并联有两个输出端分别加到推挽电路的两个晶体管基极上。电阻R2用来在控制电路不能保证有足够电压时给SIPMOS管的门极提供一个一定的电位,防止该管误导通。电容C3用来缩短时间常数 R2Cbe,这里Cbe为晶体管T基-射极间电容。
觉得这篇文章有帮助吗?
👍 来顶一下 (
66
)
🔐 用户登录
×
加载中...
加载登录表单中...
🎁
免费注册送10积分
×
加载中...
加载注册表单中...
🔑 找回密码
×
加载中...
加载表单中...
🔐
需要登录
×
🔒
登录后即可使用!
🎁
新用户注册立即送10积分
积分可用于下载资源,免费获取优质技术资料
🚪
退出登录
×
👋
确认要退出登录吗?
退出后需要重新登录才能下载资源