⭐ 欢迎来到虫虫下载站!
|
📦 资源下载
📁 资源专辑
ℹ️ 关于我们
⭐ 虫虫下载站
🔐
登录
📝
注册
虫虫下载站
专业电子工程师资源平台
📤 上传资源
🏠 首页
📦 资源下载
📁 资源专辑
🔧 热门软件
⭐ 精品资源
🎓 基础知识
📐 电路图
📚 电子书
🔢 在线计算器
🔍 代码搜索
🏠 首页
›
电路图
›
基础电路
›
电话密码器电路图
电话密码器电路图
📅 发布时间:
2013-09-19 01:20
👁️ 浏览:
6
🏷️ 标签:
电话
密码
电路图
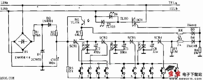
本双向电话密码器密码多达一万组,可任意设置。密码电路数码键由0~9组成,密码设四位,每位数字可以重复,图中设置为4269.四个单向可控硅SCR1~SCR4分别控制密码的1~4位,某一位要设置哪个数字,就把该位的可控硅触发端接到对应的按键上,其余数码键与另外三个单向可控硅SCR5~SCR7的触发端并接在一起,作为误码键。十个数码键的另一端通过R3接到电源的正极。使用时先摘机,依顺序按下正确的密码,当按第一位密码时SCR1导通,电源向C2充电,再按下第二位密码时,SCR2导通,C2上的电荷向C3充电,依次类推,直到C4上的电压通过R4、D3触发双向可控硅BCR导通,电话线路接通。同时BCR的导通使D5、D6发光,BG受光照导通,电路形成自锁,直到通话结束。
觉得这篇文章有帮助吗?
👍 来顶一下 (
40
)
🔐 用户登录
×
加载中...
加载登录表单中...
🎁
免费注册送10积分
×
加载中...
加载注册表单中...
🔑 找回密码
×
加载中...
加载表单中...
🔐
需要登录
×
🔒
登录后即可使用!
🎁
新用户注册立即送10积分
积分可用于下载资源,免费获取优质技术资料
🚪
退出登录
×
👋
确认要退出登录吗?
退出后需要重新登录才能下载资源