⭐ 欢迎来到虫虫下载站!
|
📦 资源下载
📁 资源专辑
ℹ️ 关于我们
⭐ 虫虫下载站
🔐
登录
📝
注册
虫虫下载站
专业电子工程师资源平台
📤 上传资源
🏠 首页
📦 资源下载
📁 资源专辑
🔧 热门软件
⭐ 精品资源
🎓 基础知识
📐 电路图
📚 电子书
🔢 在线计算器
🔍 代码搜索
🏠 首页
›
电路图
›
基础电路
›
能显示通行方向的光栅电路图
能显示通行方向的光栅电路图
📅 发布时间:
2013-09-18 20:10
👁️ 浏览:
0
🏷️ 标签:
方向
光栅
电路图
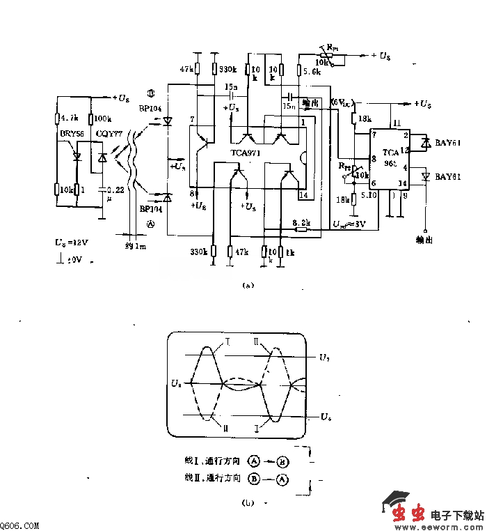
实际中希望光栅电路不仅能显示通断,而且还能显示通过的方向,这时可采用带RS储存功能的窗口鉴别器电路TCA965.此外电路输入端还需要两个接收二极管,以确定方向。作为发射管采用CQ177,它通过可编程单结晶体管BRY56可产生约1A短时电流冲击。脉冲序列脉宽为30ms。两个接收二极管后接两个射极跟随器,并分别通过16nF电容接至差分放大器上,其输出接窗口鉴别器脚8.
如果光线同时照射到接收二极管上,或同时遮断,无光线照射,则差分放大器上无信号;如果只有接收管A被遮断,则输入电压Ub大于U7(图b),如果接收管B被遮断,则输入电压Ub小于U6.
觉得这篇文章有帮助吗?
👍 来顶一下 (
20
)
🔐 用户登录
×
加载中...
加载登录表单中...
🎁
免费注册送10积分
×
加载中...
加载注册表单中...
🔑 找回密码
×
加载中...
加载表单中...
🔐
需要登录
×
🔒
登录后即可使用!
🎁
新用户注册立即送10积分
积分可用于下载资源,免费获取优质技术资料
🚪
退出登录
×
👋
确认要退出登录吗?
退出后需要重新登录才能下载资源