⭐ 欢迎来到虫虫下载站!
|
📦 资源下载
📁 资源专辑
ℹ️ 关于我们
⭐ 虫虫下载站
🔐
登录
📝
注册
虫虫下载站
专业电子工程师资源平台
📤 上传资源
🏠 首页
📦 资源下载
📁 资源专辑
🔧 热门软件
⭐ 精品资源
🎓 基础知识
📐 电路图
📚 电子书
🔢 在线计算器
🔍 代码搜索
🏠 首页
›
电路图
›
基础电路
›
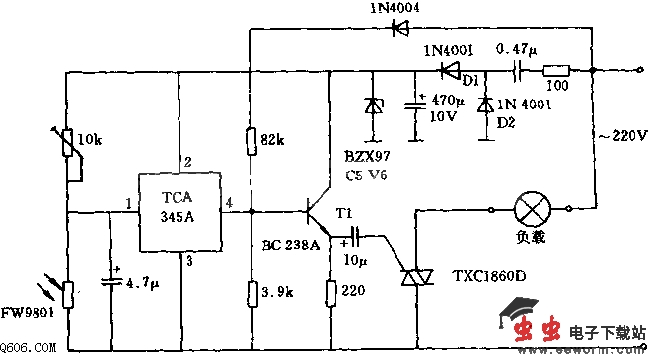
双向晶闸管的照明灯自动开关电路图
双向晶闸管的照明灯自动开关电路图
📅 发布时间:
2013-09-17 04:40
👁️ 浏览:
9
🏷️ 标签:
双向晶闸管
照明灯
自动开关
电路图
开关控制200W灯,供电电压为220V,约在光照100lx左右灯会自动开或关。在外界环境光较暗时光敏电阻呈高阻值,在阈值开关输入端的电压高于脚2处电压约0.7倍,其输出端也呈高阻值,于是电网电压通过分压电阻使后接的晶体管正半周周期导通,并在发射极处每半周期形成一个触发脉冲,使负载通电。当光照较强(大于100lx)时,阈值开关输出端变负,使晶体管及双向晶闸管门极无电流,电路不通。电路中需要的直流电压由二极管D1和D2整流后取得。控制电路需要的电流约15mA。
觉得这篇文章有帮助吗?
👍 来顶一下 (
37
)
🔐 用户登录
×
加载中...
加载登录表单中...
🎁
免费注册送10积分
×
加载中...
加载注册表单中...
🔑 找回密码
×
加载中...
加载表单中...
🔐
需要登录
×
🔒
登录后即可使用!
🎁
新用户注册立即送10积分
积分可用于下载资源,免费获取优质技术资料
🚪
退出登录
×
👋
确认要退出登录吗?
退出后需要重新登录才能下载资源