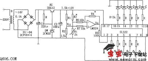
如图所示为电冰箱温度告知电路。该电路由降压整流电路、温度检测元件Rt、集成运算放大器LM324、电平显示集成电路SL322等组成。其中降压整流电路为整个电路提供直流电压,Rt为热敏电阻,SL322用于驱动发光二极管发光。
当电冰箱内温度升高时,Rt的阻值下降,相应Vi1下降,它通过LM324放大后,使电压Vo上升,Vo被直接送入SL322,以驱动发光二极管发光,且因SL322的输入电压上升,被点亮的发光二极管数目增多。反之,当电冰箱内的温度降低时,被点亮的发光二极管数目减少。确定好1只发光二极管表示的温度后,则由发光二极管被点亮的数目即可知电冰箱内的温度。图示电路在0℃时只有1只发光二极管点亮,18℃有10只发光二极管点亮,则平均每隔2℃的变化将引起l只发光二极管的亮或灭。
如果想使电冰箱内的温度越低时被点亮的发光二极管越多,则可将R3与R4的位置对调一下即可。
热敏电阻Rt选用MF51型,使用范围为-55~+125℃,灵敏度高。使用时对其进行定标的方法是:先把Rt与温度计绑在一起,两个测温头尽量靠拢,以减小误差,然后将Rt的两根引线与万用表的表笔连好,并把量程开关放在R×1k挡,最后把两个测温头放入冷藏室或冷冻室内,即可测出Rt在所要求的低温时或高温时显示的阻值。一般测两次取平均值较好。通常冷藏室内温度为2~8℃,取显示温度范围为0~18℃即可满足要求。
调试时,先取R3的阻值等于Rt最低显示温度对应的值,然后将Rt换成电位器,并将它调至最高温度Rt对应的值,再调整Rt,使发光二极管全部点亮。最后调电位器,使阻值等于最低显示温度Rt对应的值,调整R3使1个发光二极管点亮即可。

本电路可通过发光二极管的显示从冰箱外部得知电冰箱内的温度。不过电路接入中需注意的是:Rt应放在温度较均匀且能代表整个箱内的平均温度的冷藏室内侧壁中点。 <script language="JavaScript"> function resizeImage(evt,obj){ newX=evt.x; newY=evt.y; obj.width=newX; obj.height=newY; } </script>