LM1875直流化电流负反馈BTL电路

📅 发布时间:2013-09-15 06:00 👁️ 浏览:4 🏷️ 标签: 1875 BTL LM 直流

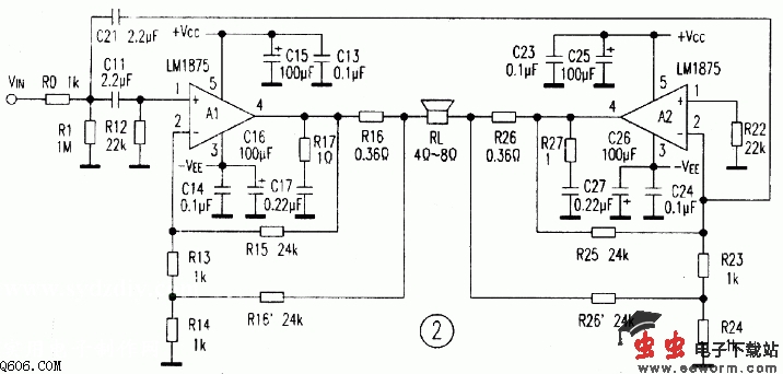
    直流化电流负反馈BTL电路见图2,取消标准BTL电路中的C12、C22,使电路直流化;电阻R16与R26是取样电阻,电流反馈信号经R15、R16、R25、R26分别进入放大器A1、A2的反相输入端,R13、R14、R15、R16的阻值决定放大器增益的大小。
   用图2电路实验,不管怎样通断电源与输入信号,输出端始终没有直流输出,并且没有静态输出噪音,开机时喇叭中只有轻微“叭”音,关机时扬声器中绝无噪音可闻。通过实验可知,此种输入电路工作十分稳定,即使在开大音量或静态时将输入端子拔掉再插上,电路也不会自激。电容C11对音质影响很大,去掉此电容后,眼前马上一亮,中高音变得清澈细腻,低音富有弹性和力度。直流化电流负反馈BTL电路继承了直流化电流负反馈OCL电路音质的优点,失真进一步减小,输出功率增大到原来的3倍,达到了60瓦以上,克服了其开关机扬声器中有冲击声和静态时有交流声的缺点,是LM1875的理想优化电路。

觉得这篇文章有帮助吗?