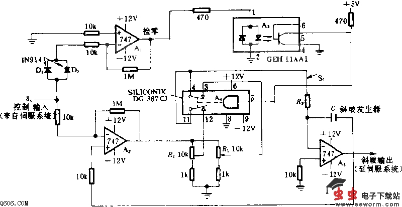
上下斜坡控制电路图

📅 发布时间:2013-09-13 14:20 👁️ 浏览:1 🏷️ 标签: 控制电路图
  本电路采用Siliconix DG387CJ固体电路继电器,产生从上斜坡到下斜坡的切换,当伺服机构处于新的零位时,使之减速。斜率取决于R1和R2的调节位置。这种电路安排,以低的成本保证了最佳的伺服机构系统响应。A1检测到输入信号不是零,则启动光电隔离器A3,使A4切换。A5产生的正向斜坡使系统负载朝向需要的位置移动,使伺服机构的反馈电压抵消控制输入电压。当这个电压降低到离地电位0.7V以内时,A1输出“0”,A3截止。A4启动下斜坡波形,使系统减速直到停止。对于20V/s的斜率,取C=0.33uF,R3=1.8M欧。
觉得这篇文章有帮助吗?