
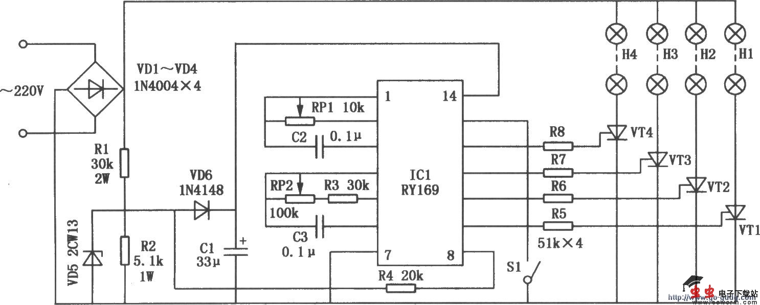
节日闪烁彩灯的电路如图所示。交流电经二极管VDl ~VD4桥式全波整流,电阻Rl、R2以及稳压二极管VD5稳压,电容C1滤波,形成6V平滑的直流电压,供整个电路使用。二极管VD6起隔离作用。IC1为彩灯控制专用集成电路RY169,其内部有亮度分级和输出速度两个振荡器,振荡频率由RPl、C2和RP2、R3、C3决定。接通电源后,ICl的9~12脚输出变化的脉冲通过电阻R5~R8,加到晶闸管VT1~VT4的控制极,使其导通角发生变化,从而产生繁星循环闪烁的效果。ICl的13脚为灯串点亮循环方向控制端,当开关Sl接通即该端接低电平时,灯串循环方向为H1→H2→H3→H4→H1;开关S1断开时,灯串循环方向为H4→H3→H2→Hl→H4。调节电位器RPl和RP2(注意电路板带市电),使彩灯循环速率和闪亮效果满意为止,以后使用时RPl和RP2就不必再动。