箱、包防盗报警器

📅 发布时间:2013-09-26 13:20 👁️ 浏览:1 🏷️ 标签: 防盗报警器

此报警器也装在你的公文包、钱包、旅行箱中,用以防止被劫。箱、包在你手中时无声,一旦箱包被劫夺即可发出很响的警报声,迫使劫夺者丢弃你的箱包。
此报警装置的秘密在于装在你的箱或包的背带或提手把上的一个自制的触摸开关。当你的手指握在背带或提手把上时,手指把触摸开关的气隙连通,警报器即不发声。一旦手指离开,报警器即被触发而发出很响的报警声。
使用时必须注意:切勿把耳朵靠近发声器,由于它的声音极大,易震坏你的耳膜。
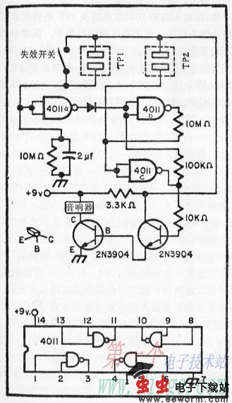
此装置的电路图如图3所示。从图中可见到有两个触摸开关,其中之一(TP1)装在箱、包的把手上或背带上,是操纵开关。另一触摸开关(TP2)是复原开关,在盗贼逃去之后用以把讨厌的警报声切断。此开关隐藏在箱、包之内。
平时手指把TPI的气隙跨接,使4011a的输入端为高电平,其输出端为低电平;4011b输入低,输出高;4011c的输入高出输出低电平,故两个三极管2N3904(接成复合管)都截止,音响器无电源而不响。一旦手指离开TP1,4011a的输入经较短延时(由于2μF电容的放电)后就变为低电平,其输出为高电平;4011b输入为高电平,输出为低电平;4011c输入为低电平,输出为高电平,复合晶体三极管导通,使音响器工作而发出警报声。一旦触发后,即使重新用手指跨接TP1的气隙,报警也不会停止。这是由于手指重新跨接TP1后4011a的输入端虽又变为高电平,其输出端也变成低电平,但是由于二极管的隔离作用4011b的输入端仍保持高电平,故警报不停。只有当手指跨接隐藏的TP2后,4011c的输入端成为高电平,输出端变为低电平,才能使复合三极管基极成为低电平而截止,报警声中止。

图3
接于4011a输入端的10MΩ电阻及2μF电容组成延时网络,有半分钟的延时,使您有可能进行换手,在半分钟内换手期间不致发生错误报警。
此装置的电源可用6~12V的干电池。2N3904可用PCM≥300mW,ICM≥200mA的NPN管,如3DG181、3DG815、3DG69、3DG2、3DG12、3DK40B等。

觉得这篇文章有帮助吗?