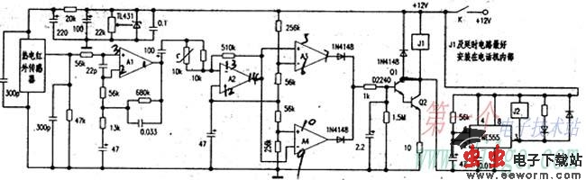
该报警器由红外探头和自动拨打部分组成。当探头接收到人的红外信号时,继电器J1的常开触点接电话机的叉簧,延时5秒后,继电器J2的常开触点接电话机重拨键的两极上。电路连接正确后,先关断开关K,给探头供12V电源,然后在主叫电话机上拨打被叫的传呼或手机号码,等传呼机或手机响铃后挂机,闭合开关K,即进入报警状态。此电话单纯,用于报警,如果不慎又使用了电话时,被叫号码要重新输入,因为自动拨打利用了电话机的最后一组号码的重拨。
工作原理: 由附图知:A1、A2、A3、A4。由四运放块LM2902N构成,其中A1、A2组成传感器讯号放大电路,A3、A4组成电压比较器,它设有两个参考电压,静态时,没有盗者进入警戒区,传感器无信号输出A3、A4输出的是低电平,报警电路不工作,当有盗者在警戒区移动时,人体在空间辐射出的红外线通过具有双重反射的抛物面镜会聚在传感器上,传感器输出微弱的低频信号通过A1、A22进行放大,放大后的信号电压输入到A3、A4组成的电压比较器进行比较,当A2输出电压高于A3参考电压时;A3输出高电平,当A2输出电压低于A4的参考电压时,A4也输出高电平,因而复合管Q1、Q2导通;继电器J1吸合,由JI的常开触点接通电话机的叉簧,接着继电器两端的电压同时加到延时电路上,经过5秒钟左右,继电器J2吸合,由J2接通电话机的重拨键。

能拨打电话的红外线防盗报警器
觉得这篇文章有帮助吗?