
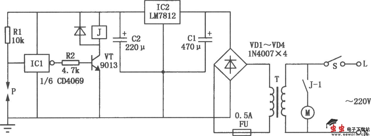
本电路是家用增压水泵保护器,不仅能为家庭水压增压,而且还能有效地保护电机。电路如图所示。市电经变压器T降压、整流二极管VDl~VD4整流、IC2(LM7812)稳压、Cl和C2滤波后,为电路提供直流工作电源。工作时闭合电源开关S,若水管无水,则P与地近似绝缘状态,反相器ICl输入高电平,输出低电平,VT截止,J释放。其触点J-1断开,增压水泵M不运转,从而避免了水泵空转。若水管内有水,P与钢管外壳经水电阻导通,ICl输入低电平,输出高电平,VT导通,J吸合,水泵M正常运转。IC1取CD4069型六反相器,图中仅使用其中一组反相器,其余五组反相器悬空不用(将其输入端全部接地,以防干扰)。P为无水检测传感器,需要自制。方法是:在水管上钻一个孔,将汽车火花塞装入,注意加垫以防漏水,在火花塞针处引出P极,水管(钢管)外壳接地即可。