
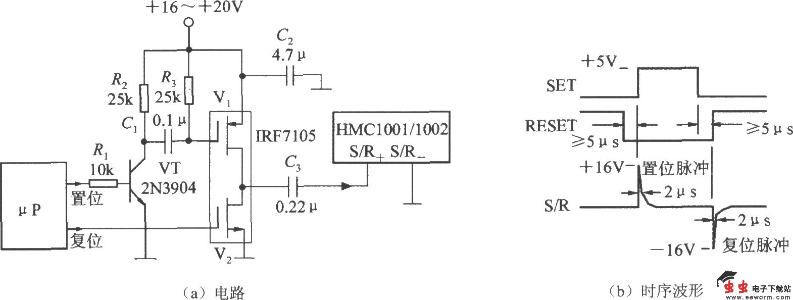
S/R脉冲即置位/复位脉冲,其幅度取决于所用MR传感器的测量灵敏度。例如,由HMC1001/1002构成的特斯拉计,当最小可测磁通密度为50nT时,要求脉冲电流的幅度不低于3A;最小可测10nT时,脉冲电流幅度不得小于4A。测量灵敏度愈高,脉冲电流幅度也愈高。利用微处理器产生S/R脉冲的电路如图所示。该电路采用 16~ 20V电源,可产生4A以上的脉冲电流。电路中使用一个HEXFET驱动器IRF7105,内含互补型N沟道、P沟道功率场效应管(、V1、V2)。由μP发出的复位信号直接送至V2的栅极,置位信号则经过2N3904型NPN晶体管接V1的栅极。V1和V2交替地通、断。输出电流通过微分电容C3后,可得到如图(b)所示的S/R信号,送至HMC1001/1002的S/R 端,S/R-端应接地。产生S/R脉冲的电路必须靠近MR传感器并且要与电源和地接线良好。