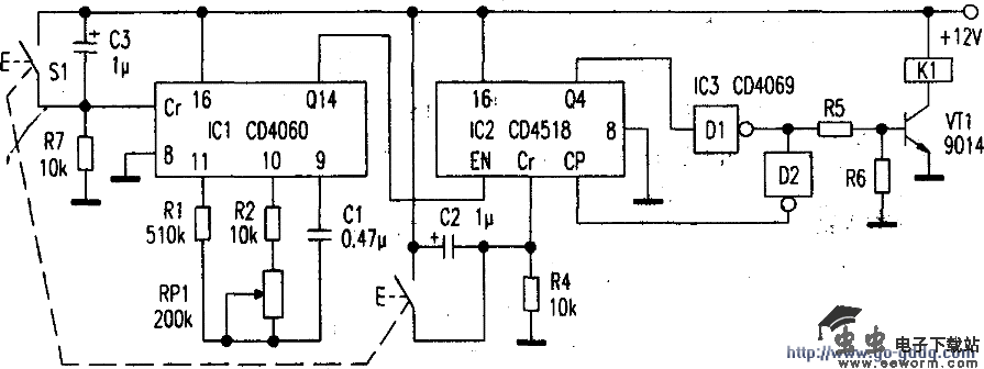
电源经C3、R7、C2、R4构成上电复位,使ICl、IC2复位,输出为0,CD4518的Q4输出低电平,经D1反相后为高电平,VTl导通,继电器K1吸合。CD4060内部((9)、(10)、(11)脚)门电路加上R1、R2、RPl、C1构成的多谐振荡器,作为时钟信号,经CD4060组成的2级分频从Q14输出至CD4518计数器(下降沿触发),当CD4060输出的第8个脉冲经CD4518后,IC2的Q4脚输出高电平,经Dl反相为低电平,VTl截止,继电器Kl释放。
同时。D1的输出信号经D2反相为高电平,送至CP端,使CD4518输出状态保持不变。调节RPl。改变时钟频率为细调。改变CD4060和CD4518的输出接线方式可粗调定时时间。S1为复位按钮,无论定时工作在什么状态,按下S1,定时将从头开始。

用CD4060构成长延时定时器电路
觉得这篇文章有帮助吗?