模拟真枪训练游戏电路

📅 发布时间:2013-08-16 12:03 👁️ 浏览:13 🏷️ 标签: 模拟 游戏电路

模拟真枪训练游戏电路
模拟真枪训练游戏电路中的枪电路:
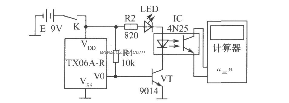
模拟真枪训练游戏电路中的靶电路:

 


觉得这篇文章有帮助吗?