电话防盗打电路

📅 发布时间:2013-10-08 04:25 👁️ 浏览:1 🏷️ 标签: 电话 防盗 电路

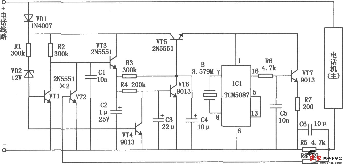
本电路的工作原理主要是利用各地电话号码中未开通的字头号码来实现电话防盗打。例如若本地没有开通以“6”字开头的号码,如果有人非法盗用电话线路,本电路就在非法摘机后主动发出一个号码“6”,则非法机开始拨号后,电信局的交换机识别出的号码就成了“6××……”。通常刚识别出前三位的拨打号码后,交换机就会发出拦截音提示:“这个号码是空号,请查询”,以此起到电话防盗打的作用。

觉得这篇文章有帮助吗?