XTR112/114隔离式发送/接收环电路

📅 发布时间:2013-10-06 06:25 👁️ 浏览:1 🏷️ 标签: XTR 112 114 隔离式

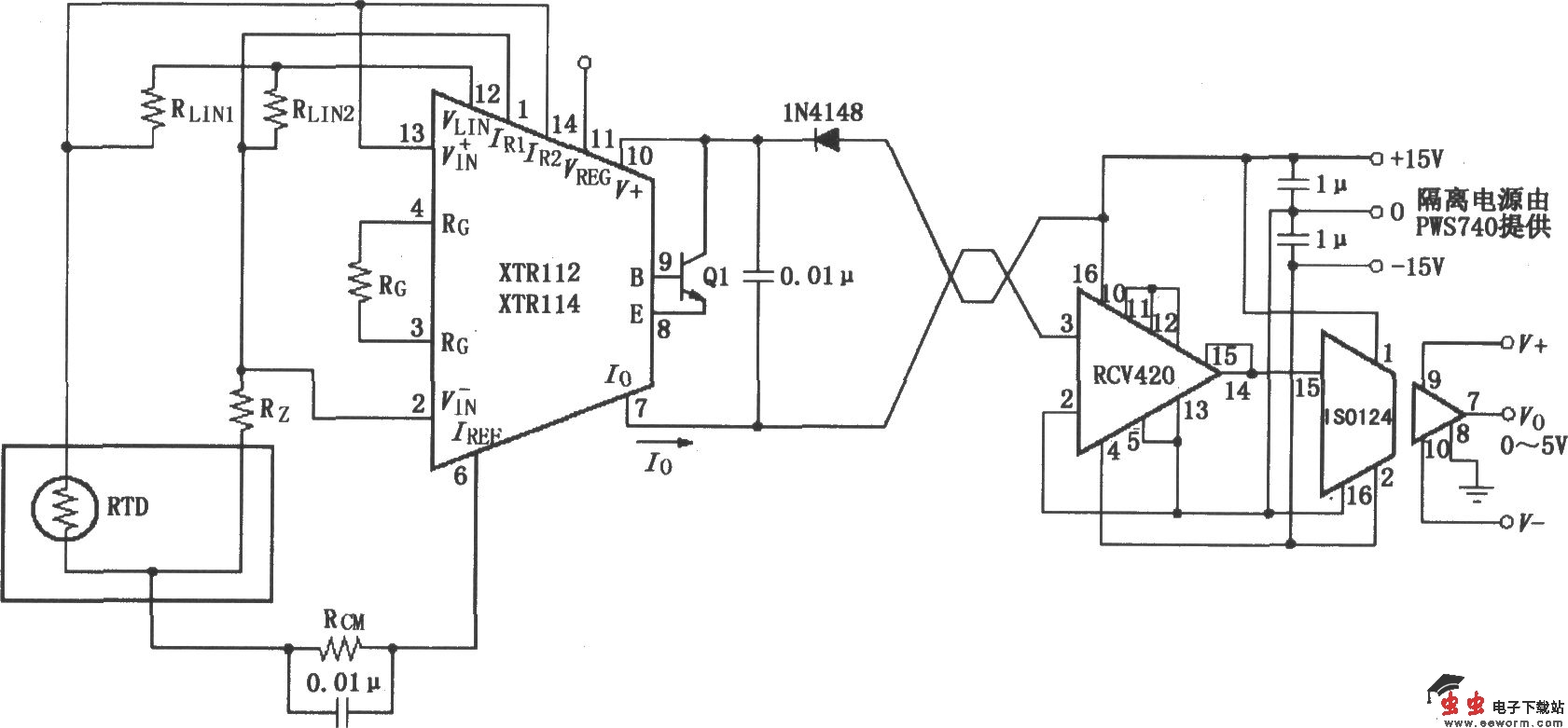
XTR112/114隔离式发送/接收环电路

如图所示,在现场RTD采集温度后,将其转换为电压,由XTR112/114将电压变换为4~20mA电流输出,再经双绞线传输、RCV420接收、隔离放大器ISO124隔离放大后,输出0~5V电压。该电路的抗干扰性能极好,可应用于远距离传输或干扰大的场合。图中为三线RTD连接,若用两线RTD连接,则去掉RLIN2。

觉得这篇文章有帮助吗?