RCV420串联4~20mA接收器

📅 发布时间:2013-10-06 05:05 👁️ 浏览:1 🏷️ 标签: RCV 420 20 mA

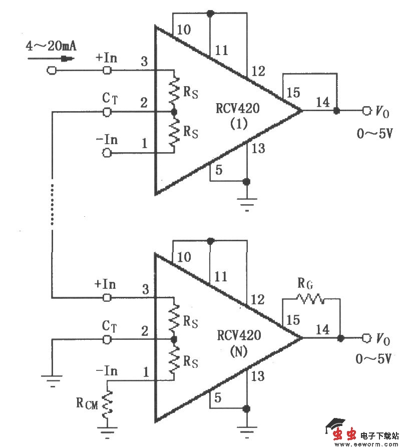
RCV420串联4~20mA接收器

如图所示,RCM和RG分别用于提供一阶CMR和增益误差的修正。当3个RCV420重叠使用时,下表给出了典型的RCM、RG的阻值,以及没有修正的典型CMR和增益误差。如需进一步改进CMR和增益误差,可将RCM和RG用500kΩ电位器细调。

RCV420串联4~20mA接收器 

觉得这篇文章有帮助吗?