北京冲云电梯控制柜

📅 发布时间:2013-10-05 14:55 👁️ 浏览:2 🏷️ 标签: 电梯 控制柜

北京冲云电梯主电路(1):

北京冲云电梯控制柜

北京冲云电梯主电路(2):

北京冲云电梯控制柜

北京冲云电梯安全回路电路:

北京冲云电梯控制柜

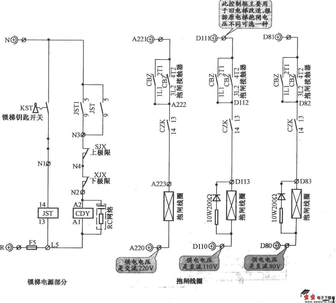
北京冲云电梯锁梯与抱闸电路:

北京冲云电梯控制柜

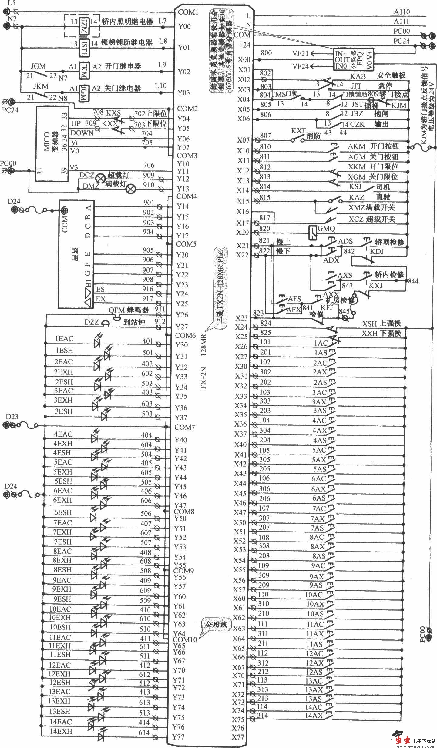
北京冲云电梯控制电路:

北京冲云电梯控制柜

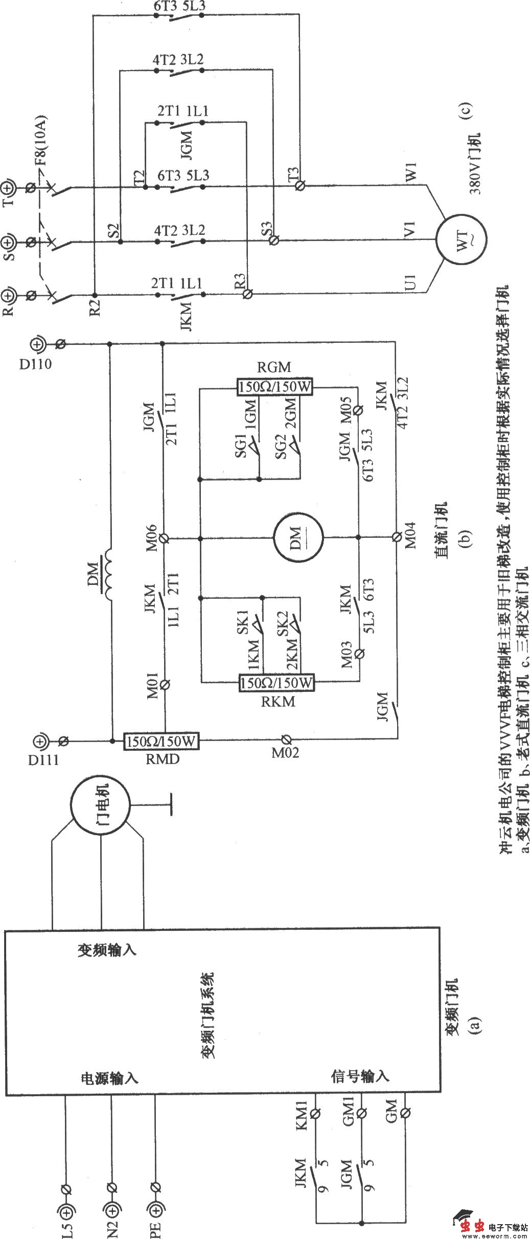
北京冲云电梯开门机电路:

北京冲云电梯控制柜 

觉得这篇文章有帮助吗?