JEC-2组成的延时电路(二)

📅 发布时间:2013-10-03 02:00 👁️ 浏览:1 🏷️ 标签: JEC 延时电路

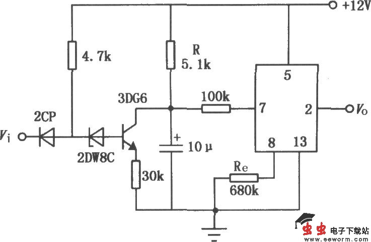
如图所示是用JEC-2组成的延时应用电路之二。当输入端由“0”跳变到“1”时,输出端也立刻为“1”;但是当输入端由高电平“1”跳变到低电平“0”时,输出经延时后才变为“0”,延时时间由10μF电容充电到触发电平时问决定。本电路提供的延时时间为0.02~10秒,用于延时时间较短的场合。改变R和C,即可改变延时时间。调整Re的数值,可校正误差。

觉得这篇文章有帮助吗?