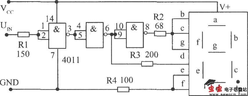
CMOS与非门4011接成反相器组成的电平测试电路

📅 发布时间:2013-09-30 21:35 👁️ 浏览:1 🏷️ 标签: CMOS 4011 与非门 反相器

CMOS与非门4011接成反相器组成的电平测试电路

如图为使用CMOS与非门4011接成反相器组成的电平测试电路。在该电路中,也可用非门代替4011。高电平显示H,低电平显示L。由于R2~R4已起限流作用,因此数码管及其阳极端直接与正电源Vcc相连。将高、低电平均需发光的常亮笔段e、f经R4接地,可减少驱动电流。

觉得这篇文章有帮助吗?