柜、屉透光乐曲报叫电路

📅 发布时间:2013-10-08 03:05 👁️ 浏览:1 🏷️ 标签: 电路

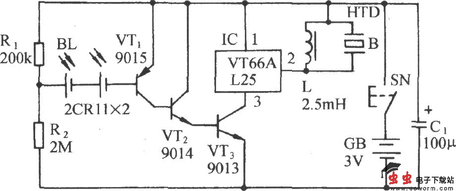
如图所示电路,它由感光器件、电子开关电路和乐曲发声电路等组成。当柜子或抽屉被人打开时,电路会自动发出报叫音响,提醒主人注意。

觉得这篇文章有帮助吗?