电路工作原理
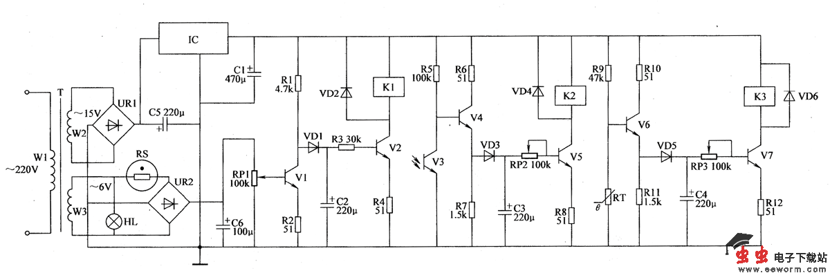
该鸡舍自动控制器电路由电源电路、湿度检测控制电路、光照检测控制电路和温度检测控制电路组成,如图38所示。

电源电路由电源变压器T、整流桥堆UR1、指示灯HL、三端集成稳压器IC和滤波电容器C1组成。
湿度检测控制电路由湿敏电阻器RS、整流桥堆UR2、电位器RP1、晶体管V1、V2、二极管VD1、VD2、电阻器R1~R4、电容器C2和继电器K1组成。
光照检测控制电路由光敏晶体管V3、晶体管V4、V5、电阻器R5~R8、电位器RP2、二极管VD3、VD4和继电器K2组成。
温度检测控制电路由热敏电阻器RT、电阻器R9~R12、晶体管V6、V7、电容器C4、电位器RP3、二极管VD5、VD6和继电器K3组成。
交流220V电压经T降压后,分别在W2绕组和W3绕组上产生交流15V电压和交流6V电压。交流15V电压经UR1整流、IC稳压及C1滤波后,为整机提供12V直流电压;交流6V电压经RS限流降压及UR2整流后,加在RP1两个固定端上。
当鸡舍内湿度不够时,湿敏电阻器RS的阻值较大,使V1因基极电压降低而截止,V2导通,K1吸合,其常开触点接通加湿器的工作电源,加湿器开始加湿喷雾。当鸡舍内湿度达到要求(相对湿度在55%~65%)时,RS的阻值变小,使V1导通:V2截止,K1释放,加湿器停止工作。
在鸡舍内光照充足时,光敏晶体管V3的内阻变小,使V4和V5截止,K2处于释放状态,补光灯不亮。当鸡舍内光照不足时,V3的内阻变大,使V4和V5导通,K2吸合,其常开触点接通,补光灯点亮。
在鸡舍内温度适宜(15~25℃)时,热敏电阻器RT的阻值较小,V6和V7均截止,K3不吸合,加热装置不工作。若鸡舍内温度偏低,则RT的阻值变大,使V6和V7导通,K3吸合,其常开触点接通加热装置的工作电源,使之开始加温。当鸡舍内温度达到要求温度时,V6和V7截止,K3释放,加热装置停止工作。
元器件选择
R~812选用1/4W碳膜电阻器或金属膜电阻器。
RT选用MF11型负温度系数热敏电阻器。
RS选用MS01-A型湿敏电阻器。
RP1~RP3均选用有机实心电位器。
C1~C4均选用耐压值为25V的铝电解电容器。
VD1、VD3和VD5均选用1N4148型硅开关二极管;VD2、VD4和VD6均选用硅整流二极管。
UR1和UR2均选用1A、50V的整流桥堆。
V1、V4和y6均选用3DG6或59013、3DG9013型硅NPN晶体管;V3选用3DU5型光敏晶体管;V2、V5和V7均选用3DG12或C8050型硅NPN晶体管。
IC选用LM7812或CW7812型三端稳压集成电路。
K1~K3均选用JRX-4型12V直流继电器。
T选用5~8W、二次电压为15V和6V的电源变压器。
HL选用6.3V指示灯。