电路工作原理
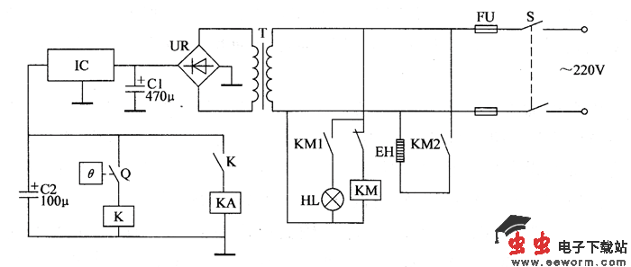
该养殖场用恒温控制器电路由电源电路和恒温控制电路组成,如图所示。

电源电路由电源开关S、熔断器FU、电源变压器T、整流桥堆UR、滤波电容器C1、C2和三端稳压集成电路IC组成。
恒温控制电路由电热点温度计Q、继电器K、中间继电器KA、交流接触器KM、电加热器EH和加热工作指示灯HL组成。
接通电源后,交流220V电压经T降压、UR整流、C1滤波及IC稳压后产生+24V电压,供给恒温控制电路。
在恒温箱或恒温室内的受控温度低于电热点温度计Q的设定温度值时,Q的电热控制触点处于断开状态,K处于释放状态,其常闭触点接通,中间继电器KA和交流接触器KM通电吸合,电加热器EH通电开始加温,同时指示灯HL点亮,指示恒温控制器处于加温状态。
当受控温度达到或超过Q的设定温度时,Q的电热控制触点接通,使Κ通电吸合,KA和KM释放,EH断电停止加温,指示灯HL熄灭。停止加温后,受控温度开始缓慢下降。在经过一段时间后,当温度降至Q的设定温度值以下时,Q的电热控制触点又断开,K释放,KA和KM又通电吸合,EH又开始加温。
以上工作过程周而复始,即可使恒温箱或恒温室内温度恒定为设定温度。
元器件选择
C1和C2均选用耐压值为35V以上的铝电解电容器。
UR选用1~2A、50V的整流桥堆。
IC选用78H24型三端稳压集成电路。
K选用JRX-13F型24V直流继电器。
KA选用JZ13型24V直流中间继电器。
KM选用CDC10型220V交流接触器。
Q选用WXG型-58~300℃可调电热点玻璃水银温度计。
HL选用XD13型220V指示灯。
T选用5~10W、二次电压为24~25V的电源变压器。
S选用HK1-30/2型双极电源开关。
FU应根据电加热器EH的功率而定。
EH可使用电暖器红外线灯泡或电热毯的电热丝等(应根据实际需要来合理选用)。