电路工作原理
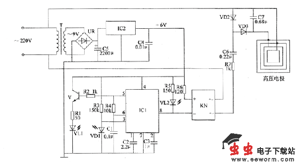
该电子灭鼠器电路由电源电路、红外控制电路和高压电路组成,如图所示。
电源电路由电源变压器T、整流桥堆UR、滤波电容器C4、C5和三端稳压集成电路IC2组成。
红外控制电路由红外发光二极管VL1、红外光敏二极管VD1、晶体管V、电阻器R1~R6、电容器C1~C3、集成电路IC1、发光二极管VL2和固态继电器KN组成。
高压电压由固态继电器KN、电阻器田、电容器C6、C7、二极管VD2、VD3和高压电极组成。
交流220V电压经T降压、UR整流、C5滤波及IC2稳压后,为红外控制电路提供+6V工作电压。

图 电子灭鼠器电路
IC1第5脚输出的振荡信号经V放大后,驱动VL1发出调制红外光。平时(在无老鼠进入红外探测区域时),VD1接收不到VL1发射的红外光,IC1处于自动振荡状态,其8脚输出高电平,VL2不亮,KN和高压电路不工作。
当有老鼠进入红外探测范围时,老鼠身体反射回来的红外光被VD1接收,使IC1的8脚由高电平变为低电平,VL2点亮,KN通电工作,高压电极上产生高压将老鼠击毙。当清除死鼠(应切断电源)后,VD1叉截止,IC1的3脚失去输人信号,8脚变为高电平,VL2熄灭,KN和高压电路停止工作,电路叉恢复守候状态。
元器件选择
R1~R6选用1/4W金属膜电阻器或碳膜电阻器;R7选用2W金属膜电阻器。
C1~4均选用独石电容器;C5选用耐压值为25V的铝电解电容器;C6和C7均选用耐压值为1000V的CBB电容器。
VD1选用PH302或BPW82型红外光敏二极管;VD2和VD3均选用1N4007型硅整流二极管。
VL1选用IR333或SE303等型号的红外发光二极管;VL2选用Φ5mm的普通发光二极管。
V选用59013或3DC9013型硅NPN晶体管。
IC1选用LM567或NE567型集成电路:IC2选用LM7806型三端稳压集成电路。
KN选用SP2110或.IGX-2F型固态继电器。
高压电极可使用较细的裸金属线或敷铜板制作而成。